EasyManua.ls Logo

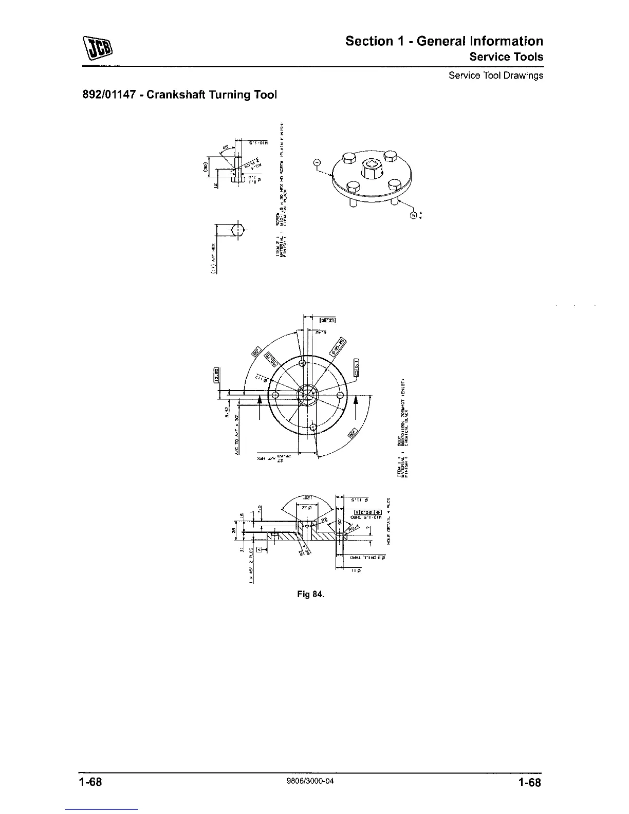
jcb 444 - Crankshaft Turning Tool

jcb 444
122 pages
Print Icon
To Next Page IconTo Next Page
To Next Page IconTo Next Page
To Previous Page IconTo Previous Page
To Previous Page IconTo Previous Page
Loading...

Table of Contents

Related product manuals