EasyManua.ls Logo

jcb VMT260 - Page 16

jcb VMT260
21 pages
Print Icon
To Next Page IconTo Next Page
To Next Page IconTo Next Page
To Previous Page IconTo Previous Page
To Previous Page IconTo Previous Page
Loading...
Introduction
Machine Description
7 7
9811/6650-7
V014710
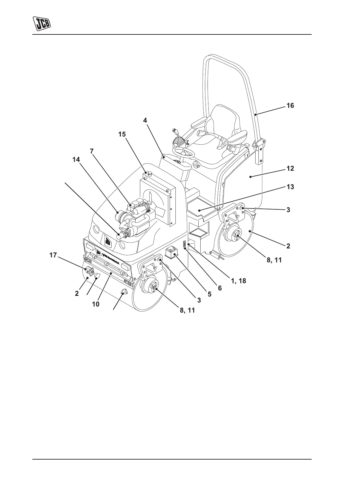
Fig 2.
19
9
9

Related product manuals