EasyManua.ls Logo

Jedia JCS-110A - Front Panel Controls

Jedia JCS-110A
9 pages
Print Icon
To Next Page IconTo Next Page
To Next Page IconTo Next Page
To Previous Page IconTo Previous Page
To Previous Page IconTo Previous Page
Loading...
1.󰼿전원󰼿스위치
전원󰼿스위치로서󰼿위로󰼿누르면󰼿전원이󰼿공급되며󰼿LED가󰼿켜집니다.
4음계(도,미,솔,도)의󰼿멜로디를󰼿선택하는󰼿스위치로,󰼿상황󰼿챠임음과󰼿하향
챠임음으로󰼿울리게󰼿할󰼿수󰼿있습니다.
2.󰼿챠임󰼿스위치
3.󰼿사이렌󰼿스위치
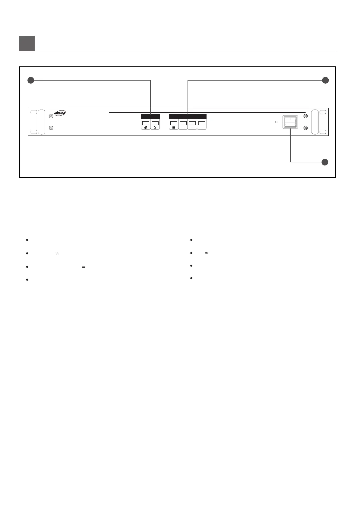
1. POWER SWITCH
2. CHIME SWITCH
You can operate 4-tone melody which is low-pitched chime and
high-phiched chime by this chime switch.
To turn "on" or "off", press the upper or lower of this switch button.
2
3. SIREN SWITCH
STOP()
Alarm siren will be stopped.
정지()󰼿
울리던󰼿경보󰼿사이렌이󰼿정지됩니다.
공습(󰼿󰼿)󰼿
경보󰼿사이렌이󰼿3분간󰼿파상으로󰼿울립니다.
AIR-RAID( )
Air-raid siren in waves for3 minutes.
경계(=)󰼿
경보󰼿사이렌이󰼿1분간󰼿평탄하게󰼿울립니다.
수동(M)󰼿
경보󰼿사이렌이󰼿스위치를󰼿누르는󰼿동안만󰼿울립니다.
AIR-RAID WARNING( )
Air-raid siren in flat for 1 minutes.
manual(M)
During the push at air-raid warning switch, it will be opweated.
F
RONT PANEL CONTROLS (전면기능)
POWER
CHIME & SIREN JCS-110A
CHIME
M
SIREN
3
3
1