EasyManua.ls Logo

Jedia JEP-352U - Front Panel Controls and Indicators; Power Switch and Charging Status LEDs; Battery Capacity and Fault Indicators

Default Icon
8 pages
Print Icon
To Next Page IconTo Next Page
To Next Page IconTo Next Page
To Previous Page IconTo Previous Page
To Previous Page IconTo Previous Page
Loading...
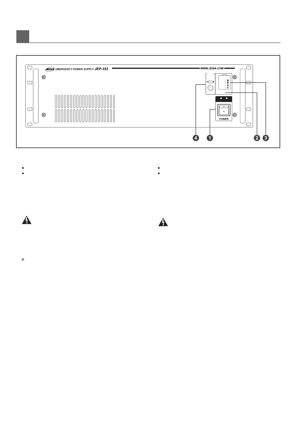
1. POWER SWITCH
위로󰼿스위치를󰼿누르면󰼿배터리󰼿충전전압이󰼿공급됩니다.
배터리가󰼿충전될󰼿때만󰼿LED가󰼿켜집니다.
2. CHARGING LED
3. CHARGING CAPACITY LED
1. POWER SWITCH
2. CHARGING LED INDICATOR
LED indicator is lighting during the battery charging.
배터리가󰼿연결되어󰼿충전이󰼿진행되는󰼿상태에서󰼿교류󰼿공급전원이󰼿공급
되지󰼿않거나,󰼿충전󰼿회로가󰼿결함이󰼿생겨󰼿충전되지󰼿않으면󰼿부저󰼿경고음이
울립니다.󰼿
또한󰼿배터리가󰼿방전되어󰼿③번의󰼿충전용량󰼿LED󰼿40%가󰼿꺼지면󰼿과다󰼿
방전(DC󰼿22V이하)으로󰼿부저󰼿경고음이󰼿울립니다.
※󰼿스위치를󰼿"OFF"󰼿위치로󰼿선택하면󰼿비정상이󰼿발생하여도󰼿부저󰼿경고
󰼿󰼿󰼿󰼿음은󰼿울리지󰼿않습니다.
4. FAULT4. FAULT
It makes busser sound in case of on AC power SUPPLY under
battery rechargable or rechangable circuit has a fault.
Also makes busser sound when rechargable capacity is less
40% of LED indicator.(NO.3)
It will not makes busser sound even abnormal situation in
case of switch "off".
Pushing power switch makes supply of voltage to recharge.
2
3. LED INDICATOR IS FOR CHARGING CAPACITY
It indicates amount of battery charging if terminal voltage of battery
is 230V~240V, amount of battery charging is 80% more.
AC LED : This is an LED indicator for AC "ON"
DC LED : When unexpected AC power "OFF" DC power supply
will be from battery to make a lighting.
AC󰼿LED󰼿:󰼿POWER󰼿SWITCH를󰼿ON하면󰼿LED가󰼿켜집니다.
DC󰼿LED󰼿:󰼿정전이󰼿되어󰼿터리󰼿전원으로󰼿POWER󰼿리모트콘트롤되면
󰼿󰼿󰼿󰼿󰼿󰼿󰼿󰼿󰼿󰼿󰼿󰼿󰼿󰼿󰼿LED가󰼿켜집니다.
IMPORTANT NOTICE : For the long-run of the battery life time,
recommend to recharge battery in the full LED lighting.
중요사항󰼿:󰼿배터리󰼿수명을󰼿최대한󰼿연장시키기󰼿위해서는󰼿항상
FULL󰼿LED가󰼿켜져있는󰼿상태로󰼿배터리를󰼿충전시켜󰼿주십시오.
배터리에󰼿충전용량을󰼿지시하는󰼿LED로󰼿통상󰼿80%󰼿LED가󰼿켜진󰼿상태에
서는󰼿배터리󰼿단자󰼿전압이󰼿약󰼿23V󰾝24V가󰼿됩니다.
F
RONT PANEL CONTROLS (전면기능)
BUZZER
FAULT
BATTERY
Full
80%
60%
40%
Charging
OFF
ON
AC
DC
U