EasyManua.ls Logo

Johnson JAR-6100 - CONSOLE REPLACEMENT PROCEDURE (JAR)

Johnson JAR-6100
79 pages
Print Icon
To Next Page IconTo Next Page
To Next Page IconTo Next Page
To Previous Page IconTo Previous Page
To Previous Page IconTo Previous Page
Loading...
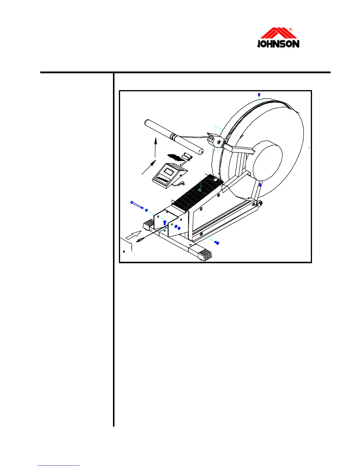
CONSOLE REPLACEMENT PROCEDURE (JAR)
Tools required:
u none
Procedure:
1. Push the console forward and pull the console out and
unplug the sensor cable terminal from the connector then
remove the console.
2. Replace console with a new one.
3-26 Revision: 1.0 Date: 2001/06/01