EasyManua.ls Logo

JRC JMA-5312-6 - Page 7

JRC JMA-5312-6
24 pages
Print Icon
To Next Page IconTo Next Page
To Next Page IconTo Next Page
To Previous Page IconTo Previous Page
To Previous Page IconTo Previous Page
Loading...
Using the automatic sea clutter suppression mode
Procedures
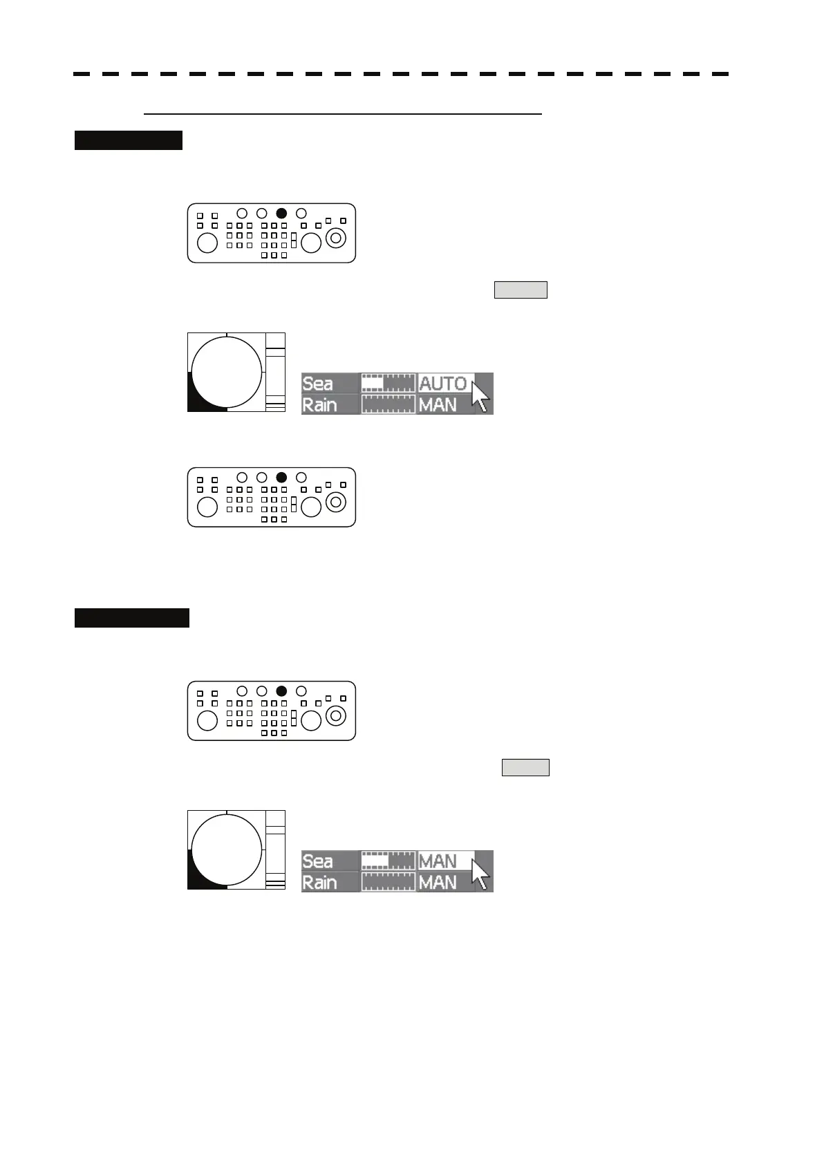
1 Press the [AUTO-SEA] dial.
The automatic sea clutter suppression mode is selected, and AUTO is displayed in sea clutter
suppression (Sea) mode switching.
2 Make adjustments by turning the [AUTO-SEA] dial.
Even when the automatic sea clutter suppression mode is selected, turning the [AUTO-SEA] dial can
make fine adjustments manually.
Cancellation
1 Press the [AUTO-SEA] dial.
The automatic sea clutter suppression mode is cancelled, and MAN is displayed in the sea clutter
suppression (Sea) mode field.
S-5

Other manuals for JRC JMA-5312-6

Related product manuals