EasyManua.ls Logo

JTS JSS-4B - Product Parts Identification

JTS JSS-4B
61 pages
Print Icon
To Next Page IconTo Next Page
To Next Page IconTo Next Page
To Previous Page IconTo Previous Page
To Previous Page IconTo Previous Page
Loading...
9
4. Parts
1
4
2
3
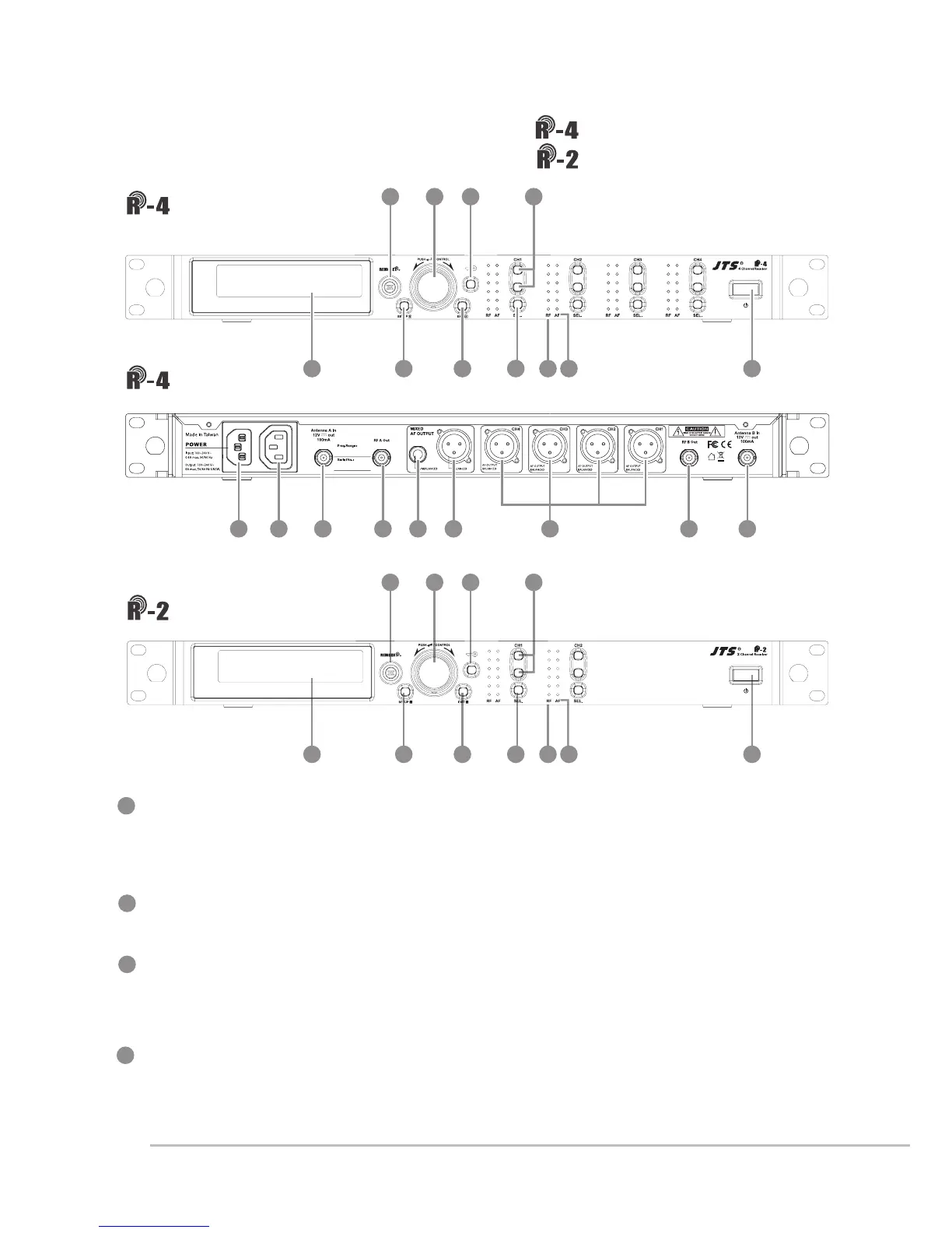
Power ON/OFF:ON:push once to turn on
OFF:push and hold until ''Power OFF'' is shown on the
LCD to turn off.
EXIT:Push exit to cancel a selection or exit from the current menu when
R-4/2 is in the ''setting menu.''
Rotary Switch:when in the ''function menu,'' turn the switch to select the
desired function; push the switch (or SETUP) to enter the selection and
spin the switch to select the setting. Push [SETUP] to save the setting.
SETUP:Push and hold for 2 seconds to enter the vsetting menu.'' Push
SETUP to save the setting once the selection and setting are made
according to ''3. Rotary Switch.''
Front panel
Rear panel
9
9
11
11
1
1
3
3
2
2
5
5
7
7
4
4
8
8
6
6
4-1 UHF PLL 4-channel diversity receiver //
10
10
Front panel
UHF PLL 2-channel diversity receiver //
14
16 1617 1715 14a
13
12

Related product manuals