EasyManua.ls Logo

JTS JSS-4B - UHF PLL Body-Pack Transmitter

JTS JSS-4B
61 pages
Print Icon
To Next Page IconTo Next Page
To Next Page IconTo Next Page
To Previous Page IconTo Previous Page
To Previous Page IconTo Previous Page
Loading...
19
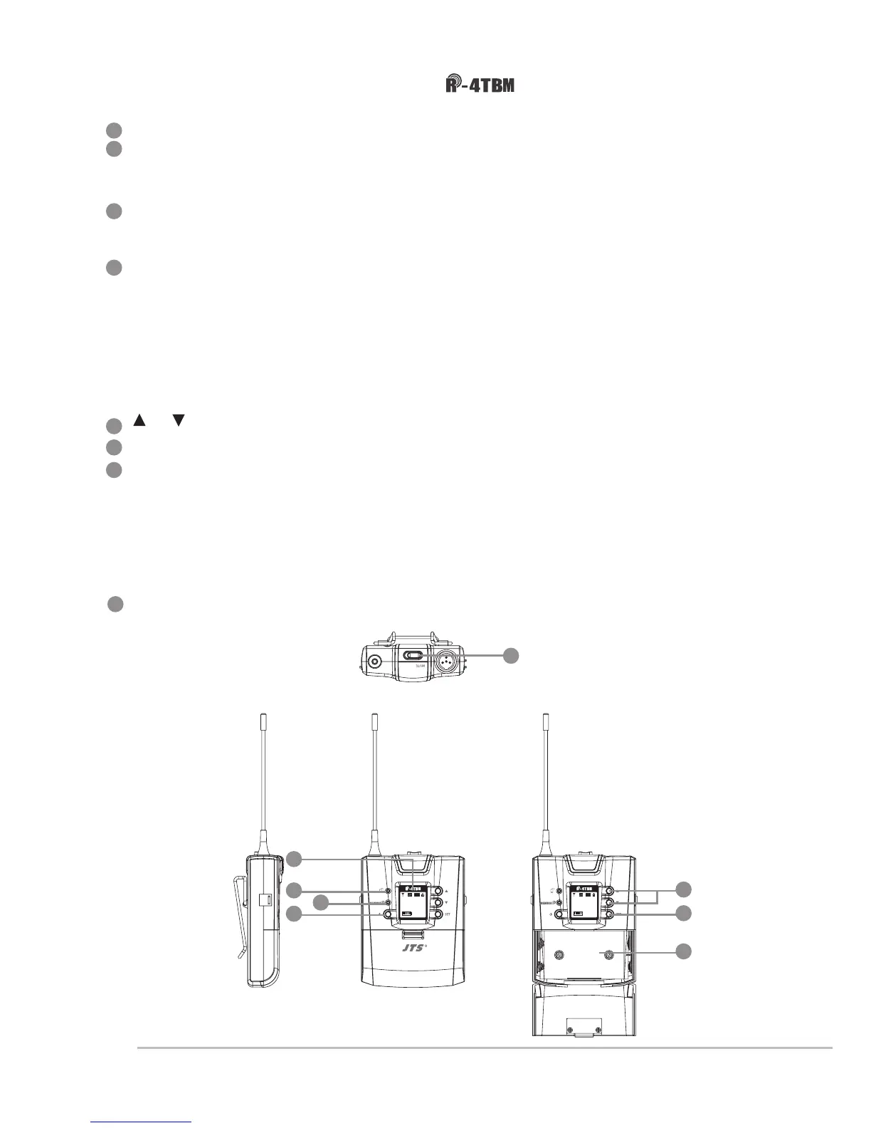
4-5 UHF PLL body-pack transmitter //
LCD display
Battery level
Red: battery low; replace battery
REMOSET indicators
Blue: Remoset transmitting (approximately 5 seconds)
Power:
(1)On: push the power button
Off: push and hold the power button for 2 seconds till the display shows
“Power Off.”
(2)Exit Setting Menu: when in the Setting Menu, push the power button to
return to the main screen.
、 : up and down buttons for selection
SET: to set and save
Mute Switch / LED Indicator :
(1)Show green light when power is on.
(2)Show red light when battery level is too low.
(3)Flash red light when switch to ''MUTE'' function to mute the transmitter.
(4)Flash red light and green light when mute function is on and battery
level is too low.
Battery tray
UHF PLL Transmitter
-12dB
IDoff
633.875 MHz
G: 1 C: 11
UF-20TB
AT
Hi
-12dB
IDoff
633.875 MHz
G: 1 C: 11
UF-20TB
AT
Hi
-12dB
IDoff
633.875 MHz
G: 1 C: 11
AT
Hi
-12dB
IDoff
633.875 MHz
G: 1 C: 11
AT
Hi
1
1
4
4
2
2
3
3
5
5
6
6
7
7
8
8

Related product manuals