EasyManua.ls Logo

JVC CA-MXG500

JVC CA-MXG500
42 pages
To Next Page IconTo Next Page
To Next Page IconTo Next Page
To Previous Page IconTo Previous Page
To Previous Page IconTo Previous Page
Loading...
MX-G500
1-37
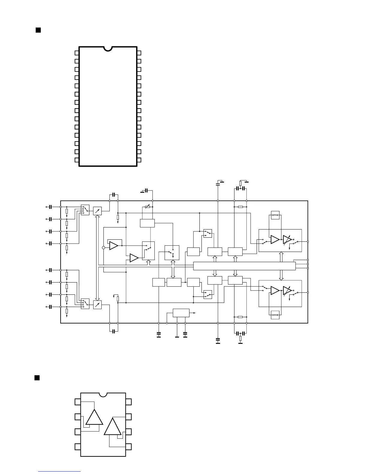
TDA7442D (FIC1) : Audio processor
1.Pin layout
2.Block diagram
L-IN1
L-R
0.47 F
SUPPLY
V
S
AGND
CREF
TREBLE
BASS
BIN(L)
MUTE
D98AU947A
I
2
C BUS DECODER + LATCHES
SPKR
ATT
TREBLE
BASS
5.6nF
MUTE
SPKR
ATT
SCL
SDA
DIG GND
ROUT
LOUT
22 F
+
-
+
-
+
R-IN4
0.47 F
50K
PS1
90Hz
100nF
PS1
RPS1
SYMULATED
MUSIC
MUSIC/
SYMULATED
OFF
MIXING
AMP
LPF
9KHz
EFFECT
CONTROL
MIXING
AMP
1.2nF
LP
4
17
28
24 25 2316
14
27
12
21
22
20
26
TREBLE-R
5.6nF
TREBLE-L
100nF
5.6K
100nF
BOUT(L)
100nF 100nF
5.6K
BIN(R) BOUT(R)
79dB CONTROL
+
-
+
-
79dB CONTROL
15
1319
18
50K
0.47 F
50K
0.47 F
50K
0.47 F
50K
0.47 F
50K
0.47 F
50K
0.47 F
50K
31.5dB
control
R-IN3
R-IN2
R-IN1
31.5dB
control
L-IN2
L-IN3
L-IN4
5
6
7
3
2
1
Vref
OFF
SURR
OFF
SURR
RB
FIX
FIX
VAR
RB
FIX
VAR
L+R
30K
30K
98
2.2 F
1110
2.2 F
MUXOUT(R)
IN(R)
MUXOUT(L)
IN(L)
L_IN3
L_IN4
MUXOUTL
IN(L)
MUXOUT(R)
BIN(R)
IN(R)
BOUT(R)
BIN(L)
1
3
2
4
5
6
7
8
9
BOUT(L)
LP
PS1
TREBLE(R)
TREBLE(L)
SCL
SDA
DIG-GND
CREF23
22
21
20
19
17
18
16
15
10
11
12
13
14
28
27
26
25
24
R_IN3
R_IN2
R_IN1
L_IN1
L_IN2 V
S
AGND
ROUT
LOUT
R_IN4
BA4560 (AIC3, AIC4, AIC5, AIC6, AIC7, FIC4, HIC1) : Dual op amp.
1.Pin layout
+
+
1
2
3
4
8
7
6
5
OUT1
– IN1
+ IN1
V
EE
VCC
OUT2
– IN2
+ IN2
1ch
2ch

Other manuals for JVC CA-MXG500

Related product manuals