EasyManua.ls Logo

JVC CA-UXJ50 - Allgemeiner Betrieb; Einstellen der Uhrzeit; Einschalten der Stromversorgung

JVC CA-UXJ50
189 pages
Print Icon
To Next Page IconTo Next Page
To Next Page IconTo Next Page
To Previous Page IconTo Previous Page
To Previous Page IconTo Previous Page
Loading...
9
Deutsch
Allgemeiner Betrieb
Einstellen der Uhrzeit
Stellen Sie zunächst die Uhr, die in dieses Gerät eingebaut ist,
bevor Sie es bedienen. Wenn Sie das Netzkabel in die
Wandsteckdose stecken, blinkt die „0:00“ im Display.
Sie können die Uhr einstellen, gleichgültig, ob das Gerät ein-
oder ausgeschaltet ist.
Es besteht ein Zeitlimit für die Ausführung der folgenden
Schritte. Sollte der Einstellungsvorgang abgebrochen
werden, bevor Sie ihn abgeschlossen haben, beginnen Sie
erneut mit Schritt
1
.
Für diese Funktion können Sie außerdem (nur für das
Modell UX-J50) die Taste CLOCK/TIMER verwenden.
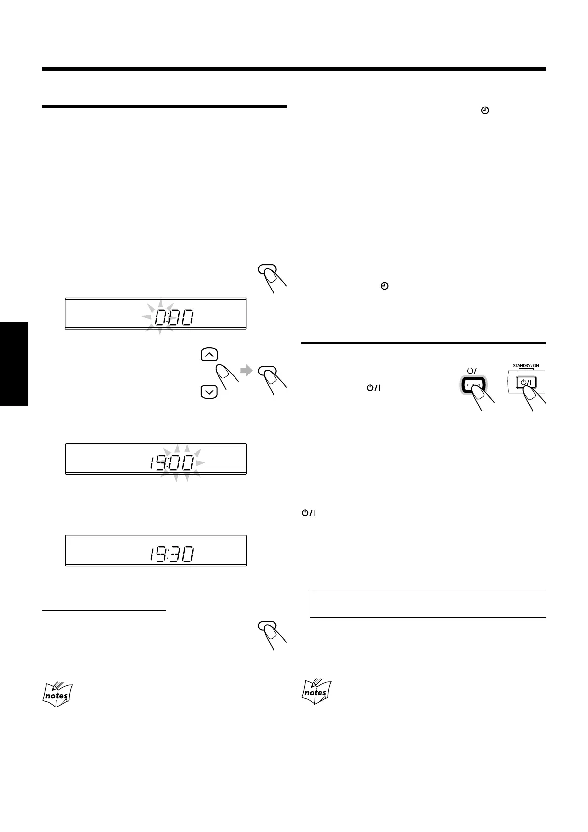
1
Drücken Sie die Taste CLOCK/
TIMER.
Die Stunden beginnen zu blinken.
2
Drücken Sie die Taste UP
oder DOWN um die
Stunden einzustellen, und
drücken Sie anschließend
die Taste
CLOCK/TIMER.
Die Minuten beginnen zu blinken.
3
Drücken Sie die Taste UP oder DOWN um
die Minuten einzustellen, und drücken Sie
anschließend die Taste CLOCK/TIMER.
So prüfen Sie die Uhrzeit während der Wiedergabe
NUR auf der Fernbedienung:
Drücken Sie die Taste DISPLAY (grau).
Wenn Sie diese Taste mehrfach hintereinander
drücken, werden die Signalquelle und die Uhrzeit
abwechselnd im Display angezeigt.
Das Netzkabel wird gezogen, oder der Strom fällt aus
Nach einem Stromausfall wird die Uhr sofort auf „0:00“
zurückgesetzt. Sollte dieser Fall eintreten, speichern Sie die Uhr
erneut.
Es kann sein, daß die Uhr ein bis zwei Minuten pro Monat
vor- oder nachgeht
Sollte dieser Fall eintreten, speichern Sie die Uhr erneut.
So stellen Sie die Uhr ein
1 Vergewissern Sie sich, dass die Anzeige (Schaltuhr)
im Display nicht leuchtet.
Falls sie leuchtet, halten Sie die Taste CLOCK/TIMER
so lange gedrückt, bis sie erlischt.
2 Drücken Sie mehrmals hintereinander auf die Taste
CLOCK/TIMER, bis der Modus zum Einstellen der
Uhrzeit aktiviert wird (die Stunden beginnen zu
blinken im Display).
Wenn Sie die Taste CLOCK/TIMER das erste Mal
drücken, wird der Modus zum Einstellen des Timers
aktiviert. (Siehe Seite 22).
3 Wiederholen Sie die Schritte
2
und
3
unter „Einstellen
der Uhrzeit“.
4 Halten Sie die Taste CLOCK/TIMER erneut gedrückt,
bis die Anzeige (Schaltuhr).
Einschalten der Stromversorgung
Wenn Sie das Gerät einschalten
möchten, drücken Sie die Taste
STANDBY/ON .
Die Leuchte STANDBY/ON
leuchtet grün und im Display
erscheint „HELLO“.
Wenn Sie die Wiedergabetaste—CD 3/8, TAPE 2 3,
FM/AM und AUX, wird das Gerät automatisch
eingeschaltet und die Wiedergabe wird gestartet, sofern die
Signalquelle bereit ist.
Wenn Sie das Gerät ausschalten möchten
(Bereitschaftsbetrieb), drücken Sie die Taste STANDBY/ON
erneut.
Die Leuchte STANDBY/ON leuchtet rot und im Display
erscheint „GOOD BYE“.
Die “0:00” im Display blinkt wenn Sie die integrierte Uhr
noch nicht gestellt haben. Nachdem Sie die Uhr gestellt
haben, wird die Uhrzeit im Display angezeigt, wenn sich
das Gerät im Bereitschaftsbetrieb befindet.
Die Beleuchtung und das Display leuchten nur für 4
Sekunden auf, wenn Sie die Taste DIMMER drücken.
Ein wenig Strom wird stets verbraucht, auch wenn sich das
Gerät im Bereitschaftsbetrieb befindet.
Um die Stromversorgung vollständig auszuschalten,
ziehen Sie das Netzkabel aus der Netzsteckdose ab.
Das Netzkabel wird gezogen, oder der Strom fällt aus
Nach einem Stromausfall wird die Uhr sofort auf „0:00“
zurückgesetzt, während die gespeicherten Sender des Tuners (siehe
Seite 12) erst nach ein paar Tagen gelöscht werden.
DISPLAY
CLOCK
/TIMER
UP
DOWN
CLOCK
/TIMER
STANDBY/ON
GE01-15_UX-J60&50[EN]ff.pm6 03.5.23, 2:03 PM9

Table of Contents

Related product manuals