EasyManua.ls Logo

JVC Compact Component System CA-MXJ500 - Using Recording Timer

JVC Compact Component System CA-MXJ500
34 pages
Print Icon
To Next Page IconTo Next Page
To Next Page IconTo Next Page
To Previous Page IconTo Previous Page
To Previous Page IconTo Previous Page
Loading...
– 23 –
English
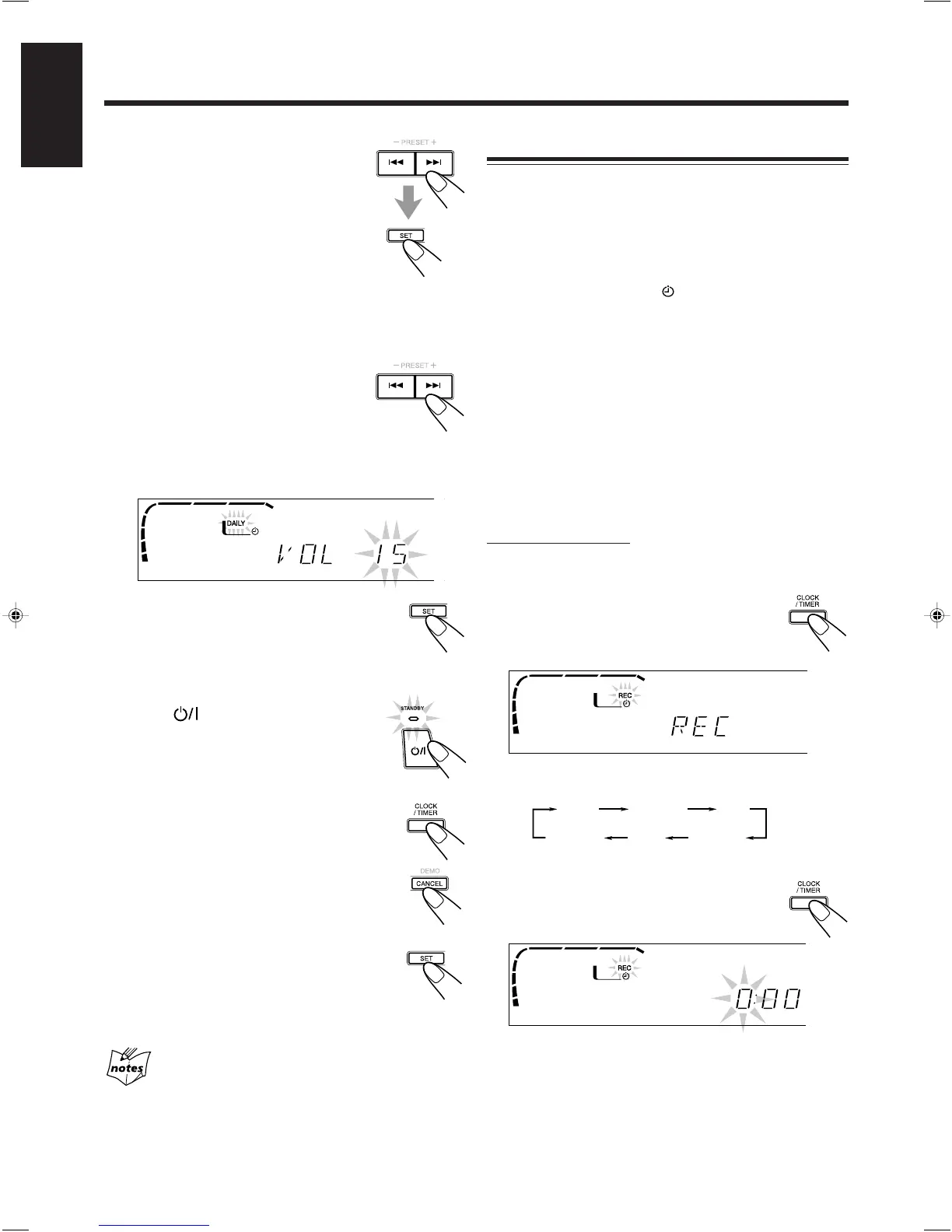
DAILY
Canceled
ON TIME
ON TIME
Clock
setting
(See page 9.)
REC
6
When selecting “– CD – –”
1) Press 4 or ¢ to select the disc
number, then press SET.
2) Press 4 or ¢ to set the track
number, then press SET.
The unit enters volume setting mode.
When selecting “TUNER FM” or
“TUNER AM”
Press 4 or ¢ to select the preset station number, then
press SET.
The unit enters volume setting mode.
7
Press 4 or ¢ to set the
volume level.
You can select the volume level from among
the following — “VOL – –,” “VOL 5,” “VOL 10,
and “VOL 15.
If you select “ VOL – –,” the volume is set to the last
level when the unit has been turned off.
8
Press SET to complete the Daily
Timer setting.
The DAILY (Daily Timer) indicator stops
flashing and remains lit. The settings you have
done are shown on the display in sequence.
9
Press to turn off the unit (on
standby) if you have set the Daily
Timer with the unit turned on.
To turn on or off Daily Timer after its
setting is done
1 Press CLOCK/TIMER repeatedly until
“DAILY” appears on the display.
2 To turn off the Daily Timer, press CANCEL.
The DAILY (Daily Timer) indicator goes off
from the display (“OFF” appears for a while).
The Daily Timer is canceled, but the setting for
the Daily Timer remains in memory.
To turn on the Daily Timer, press SET.
The DAILY (Daily Timer) indicator lights up
on the display. The settings you have done are
shown on the display in sequence for your confirmation.
If the unit is turned on when the timer-on time comes
Daily Timer does not work.
Using Recording Timer
With Recording Timer, you can make a tape of a radio
broadcast automatically.
How Recording Timer actually works
The unit automatically turns on, tunes into the specified
station, sets the volume level to “MIN,” and starts recording
when the on-time comes (the indicator flashes just before
the on-time, and continues flashing while the timer is
operating). Then, when the off-time comes (“OFF” appears
just before the off-time), the unit automatically turns off
(stands by).
The timer setting remains in memory until you change it.
There is a time limit in doing the following steps. If the
setting is canceled before you finish, start from step 1
again.
If you have made a mistake while setting the timer, press
CANCEL. (However, this does not always work. If
CANCEL does not work, press CLOCK/TIMER repeatedly
and start from step 1 again.)
On the unit ONLY:
1
Put a recordable cassette into deck B.
2
Press CLOCK/TIMER until “REC”
appears on the display.
The REC (Recording Timer) indicator also
starts flashing on the display.
Each time you press the button, the timer setting modes
change as follows:
3
Press CLOCK/TIMER again.
“ON TIME” appears for 2 seconds, then the
unit enters on-time setting mode.
EN19-28.MXJ500,etc[E]/f 00.1.10, 2:04 PM23

Related product manuals