EasyManua.ls Logo

JVC GR-DVL522 - Using Menus for Detailed Adjustment; For Recording Menu

JVC GR-DVL522
88 pages
Print Icon
To Next Page IconTo Next Page
To Next Page IconTo Next Page
To Previous Page IconTo Previous Page
To Previous Page IconTo Previous Page
Loading...
44
EN
For Recording Menu
This camcorder is equipped with an easy-to-use,
on-screen menu system that simplifies many of the
more detailed camcorder settings ( pg. 45 – 47)
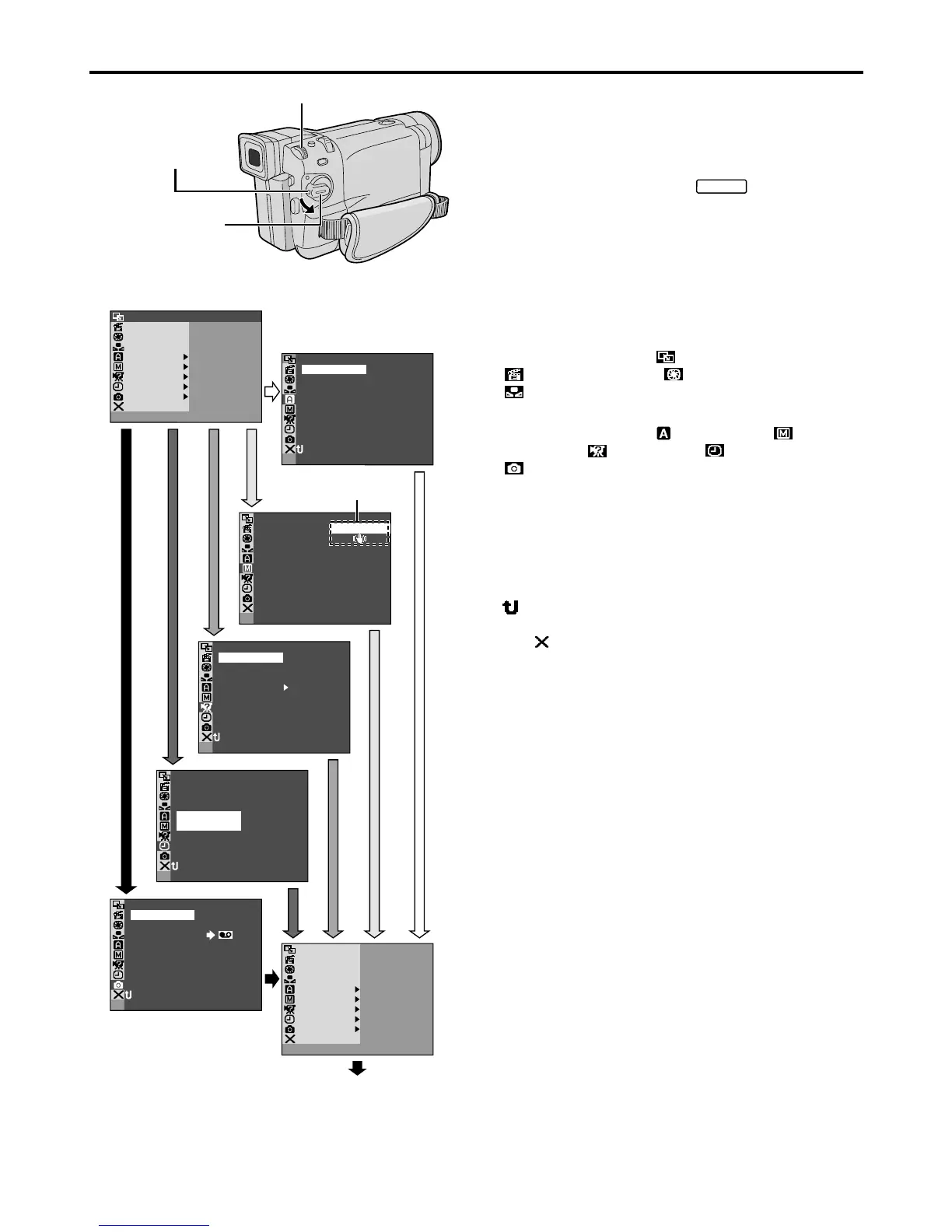
1 Set the Power Switch to “
MANUAL
” while pressing
down the Lock Button located on the switch.
2 Press the MENU/BRIGHT wheel in. The Menu
Screen appears.
3 Rotate the MENU/BRIGHT wheel to select the
desired function menu, and press it. The selected
function menu appears.
4 Function menu setting depends on the function.
If you have selected WIPE/FADER,
PROGRAM AE, EXPOSURE or
W. BALANCE . . .
..... see pg. 45.
If you have selected CAMERA,
MANUAL, SYSTEM, DISPLAY or
DSC . . .
..... go to step 5.
5 Rotate the MENU/BRIGHT wheel to select the
desired function and press it. The Sub Menu appears.
Then, rotate the MENU/BRIGHT wheel to select the
parameter, and press it. Selection is complete.
6 Rotate the MENU/BRIGHT wheel to select
RETURN” and press it twice. The Menu Screen
closes.
The icon represents “END”.
NOTE:
When the Menu Screen is left on for a couple of
minutes, a residual image may be left on the screen
and it may take several seconds for the residual
image to disappear. This is not due to any defect of
the unit.
USING MENUS FOR DETAILED ADJUSTMENT
RE NEON SC LCD / TV
UAOT
IMETDATE /
T I ME CODE
CLOCK
ADJ .
FFO
25 02
CED
30
PM
:5
NRETUR
TYQUAL I FINE
1024X768
ISIGMA ZEE
NRETUR
MODESNAP
SP
I
12
BTMODESOUND
ZOOM
UPGA I N
40
X
LFUL
AGC
NRETUR
DIS
ON
OFF
BEEP
MELODY
NO
TALLY
DEMO MODE NO
CAM ERSET
NRETUR
FADER/ W I P E
AM AEPROGR
UREEXPOS
ACAMER
LMANUA
MSYSTE
DSC
END
AYDISPL
C
AN E
W. BAL
EELREC CTS
OF
F
FADER
/ W I P E
AM AEPROGR
ACAMER
LMANUA
MSYSTE
DSC
END
AYDISPL
C
AN E
W. BAL
EXPOSURE
ODEREC M
Display
Menu Screen
MENU/BRIGHT Wheel
Lock Button
Power Switch
Sub Menu
Normal Screen

Table of Contents

Related product manuals