EasyManua.ls Logo

JVC HM-DR10000EU - S-VIDEO Connection

JVC HM-DR10000EU
84 pages
Print Icon
To Next Page IconTo Next Page
To Next Page IconTo Next Page
To Previous Page IconTo Previous Page
To Previous Page IconTo Previous Page
Loading...
EN 5
AV1 IN/OUT
(L-1)
AV2 IN/DECODER
(L-2)
DV IN
AV1 OUT
COMP. Y/C
S IN
(S-1)
S OUT
R.PAUSE
ANT. IN
ANT. OUT
R
L
AUDIO
OUT IN
(S-1)
SYNCHRO EDIT
JLIP
After you plug the mains power cord into a mains outlet, the Country Set display appears on the TV screen and/or on the recorder's
front display panel when the button on the recorder/remote control is pressed for the first time to power on the recorder; go to
page 6 to perform Auto Set Up.
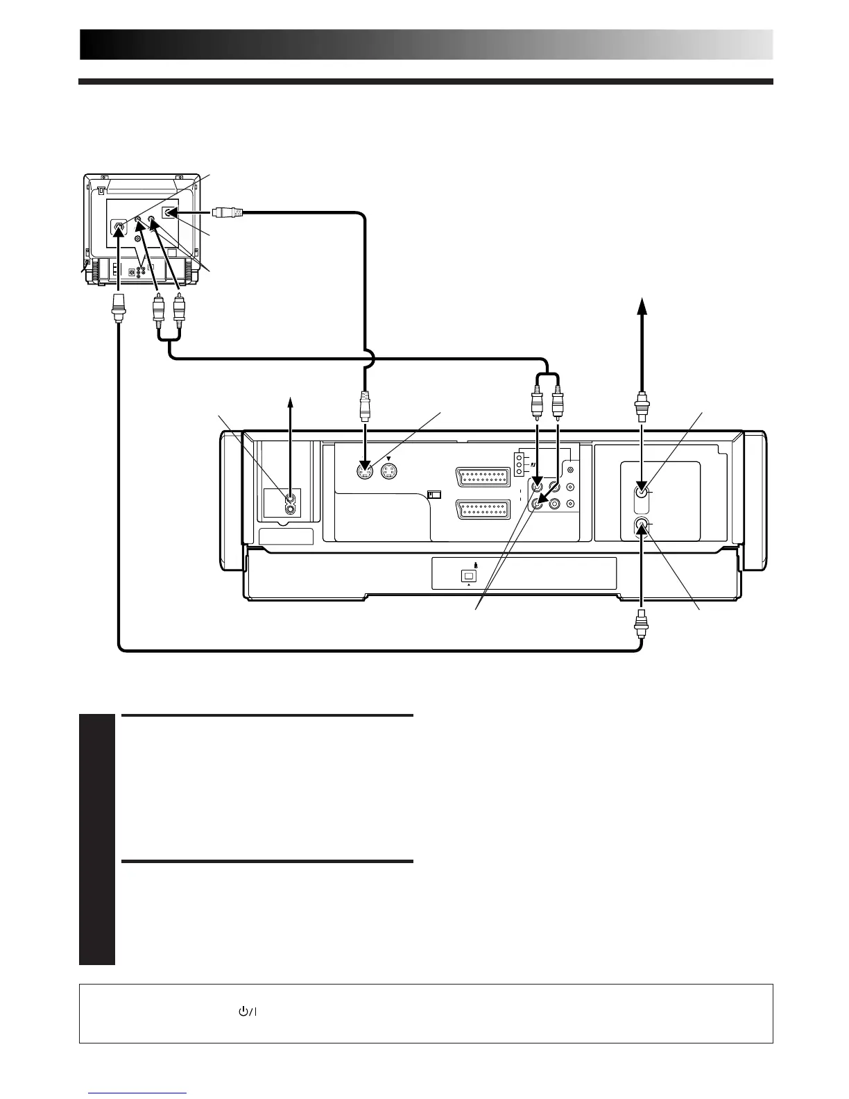
CONNECT RECORDER TO
TV
1
a– Connect the aerial, recorder and TV as per "Basic
Connection" (Z pg. 4).
b–Connect the recorder's S OUT connector to the TV's
S-VIDEO IN connector.
c– Connect the recorder's AUDIO OUT connectors to
the TV's AUDIO IN connectors.
CONNECT RECORDER TO
MAINS
2
Connect the provided mains power cord between the
mains power inlet on the rear panel of the recorder and
a mains outlet.
To Connect to A TV With S-VIDEO/AUDIO IN Connectors . . .
S-VIDEO Connection
Mains outlet
Mains power inlet
AUDIO OUT
ANT. IN
Back of Recorder
ANT. OUT
Aerial or Cable
RF Cable (provided)
Back of TV
S-Video cable
(provided)
Audio cable (not provided)
S OUT
NOTES:
You can obtain high-quality S-VHS pictures.
If your television is not stereo-capable, use the recorder's
AUDIO OUT connectors to connect to an audio amplifier for
Hi-Fi stereo sound reproduction. (
Z
pg. 61)
To operate the recorder with your TV using the S-VIDEO
connection, set your TV to the AV mode.
For switching the TV's mode, refer to the instruction manual
of your television.
AUDIO IN connectors
S-VIDEO IN connector
Aerial terminal

Table of Contents

Related product manuals