EasyManua.ls Logo

JVC MX-J30 - Page 22

JVC MX-J30
102 pages
Print Icon
To Next Page IconTo Next Page
To Next Page IconTo Next Page
To Previous Page IconTo Previous Page
To Previous Page IconTo Previous Page
Loading...
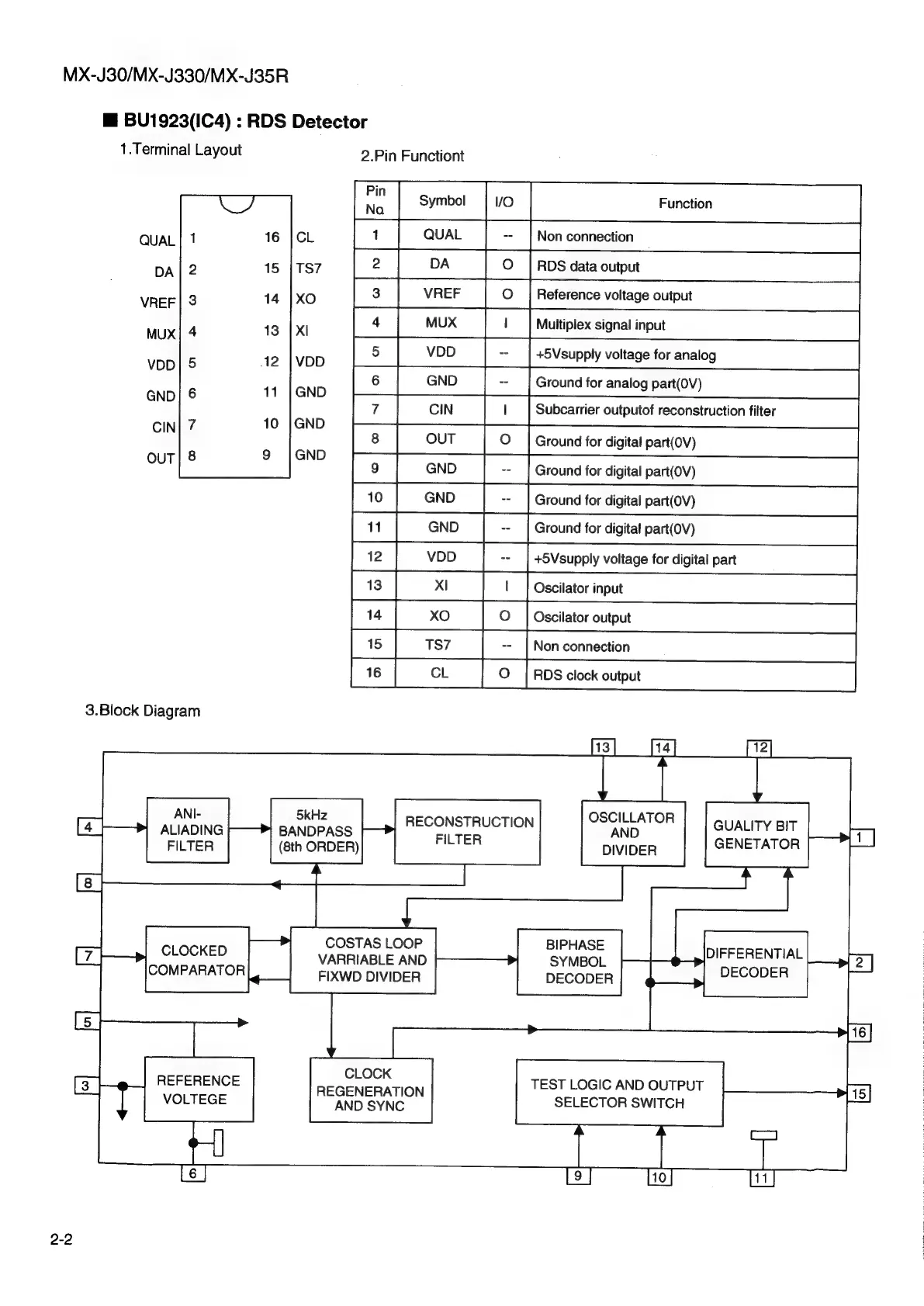
MX-J30/MX-J330/MX-J35R
@
BU1923(IC4)
:
RDS
Detector
1.Terminal
Layout
2.Pin
Functiont
Symbol
VO
Function
UAL
Zz
QUAL
on
connection
DA
DS
data
output
VREF
DD
eference
voltage
output
>
|
VREF
sis
MUX
rai
Multiplex
signal
input
[yoo
|=
[svar
wtssetoraraig
a
[eno
|
=
[eeunstranaeapanoy
-
on
[1
[Siew
cupteeoentin
ter
7
ouT
|
©
[omatragiapanoy
|
our
eno
[=
[Seusiorsatanenon
Ground
for
digital
part(OV)
G
Ground
for
digital
part(OV)
g
S\S
nD
<
S
S)
+5Vsupply
voltage
for
digital
part
Oscilator
input
Oscilator
output
—_
a
wn
N
4
x<
Non
connection
ad
=
er
oe
&
}]
©
=~
|
oOo
RDS
clock
output
3.Block
Diagram
Aone
Serisnics
RECONSTRUCTION
OsdIt
ATOR)
|
GuaLiTy
BIT
pee
GENETATOR
FILTER
(8th
ORDER)
DIVIDER
1
COSTAS
LOOP
BIPHASE
VLOEKED
VARRIABLE
AND
SYMBOL
spate
COMPARATOR
FIXWD
DIVIDER
DECODER
Semen
REFERENCE
ae
ieee
én
TEST
LOGIC
AND
OUTPUT
VOLTEGE
AND
SYNC
SELECTOR
SWITCH
2-2

Other manuals for JVC MX-J30

Related product manuals