EasyManua.ls Logo

JVC RC-XC3BK - 15. Packing

JVC RC-XC3BK
90 pages
Print Icon
To Next Page IconTo Next Page
To Next Page IconTo Next Page
To Previous Page IconTo Previous Page
To Previous Page IconTo Previous Page
Loading...
RC
XC3BK
B/E/EN/G/GI
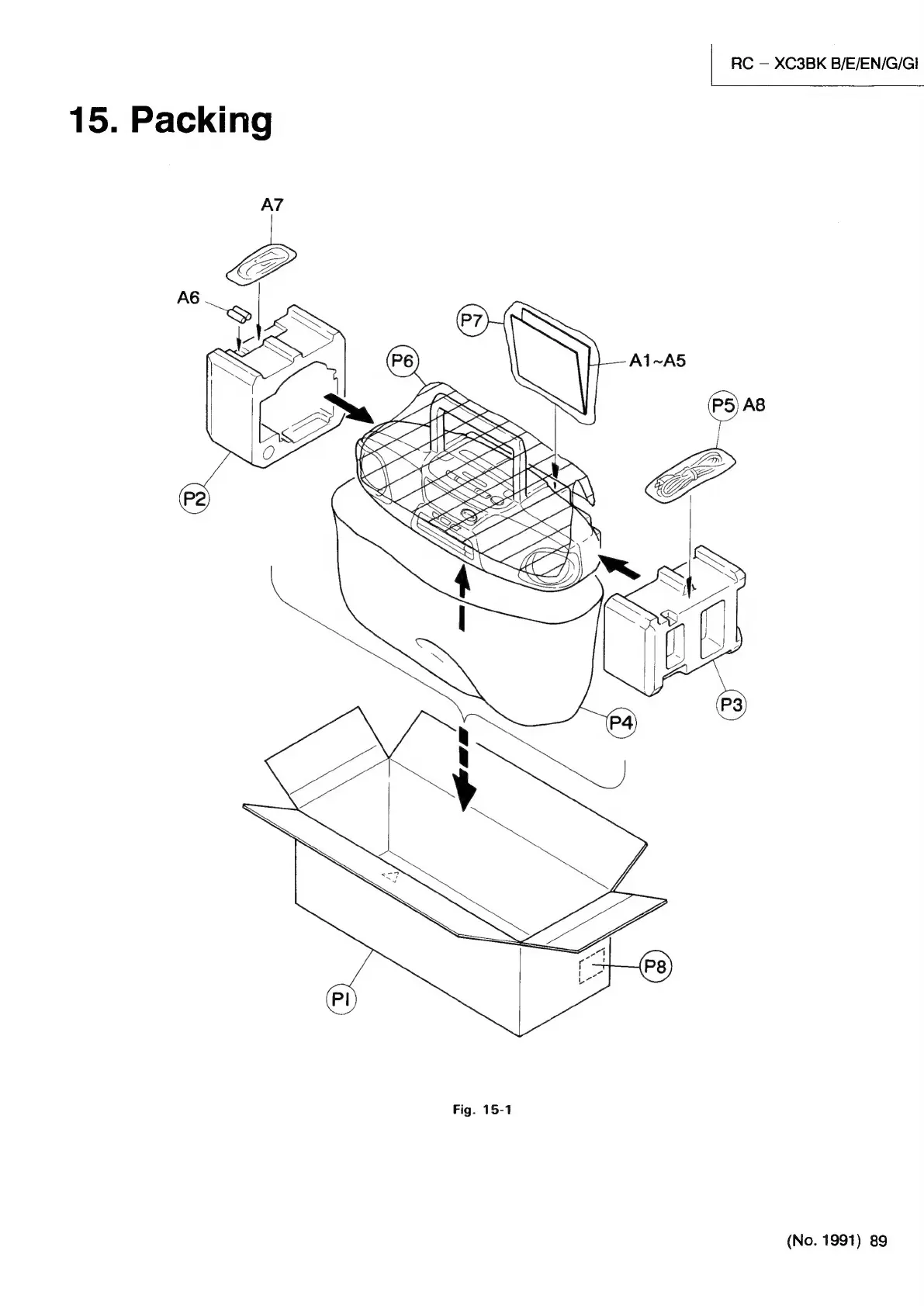
15.
Packing
V/
K
an
Q
Ro
Cin
\
\y
Fig.
15-1
(No.
1991)
89

Related product manuals