EasyManua.ls Logo

JVC UX-A70MD - Page 22

JVC UX-A70MD
90 pages
Print Icon
To Next Page IconTo Next Page
To Next Page IconTo Next Page
To Previous Page IconTo Previous Page
To Previous Page IconTo Previous Page
Loading...
1-22
UX-A70MD
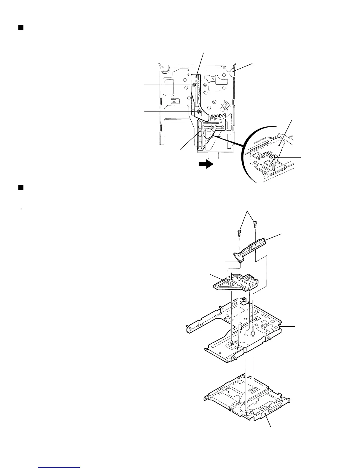
Remove the two screws I on the upper side of the
loading assembly.
1.
Removing the cartridge holder assembly
(See Fig.14 and 15)
Prior to performing the following procedure, remove
the cartridge holder assembly.
Remove the slide bar upward.
Move the eject bar outward until it stops as shown in
Fig.14. Push the convex part g on the bottom of the
body and remove the eject bar from the chassis.
1.
2.
Removing the slide bar and the eject bar
(See Fig.14 and 15)
Fig.14
Fig.15
I
I
I
Slide bar
Slide bar
Eject bar
Part g
Cartridge holder assembly
Cartridge holder assembly
Eject bar
Eject bar
k
UD base

Related product manuals