EasyManua.ls Logo

Kaiser Prestige - Page 130

Kaiser Prestige
176 pages
Print Icon
To Next Page IconTo Next Page
To Next Page IconTo Next Page
To Previous Page IconTo Previous Page
To Previous Page IconTo Previous Page
Loading...
130
EN
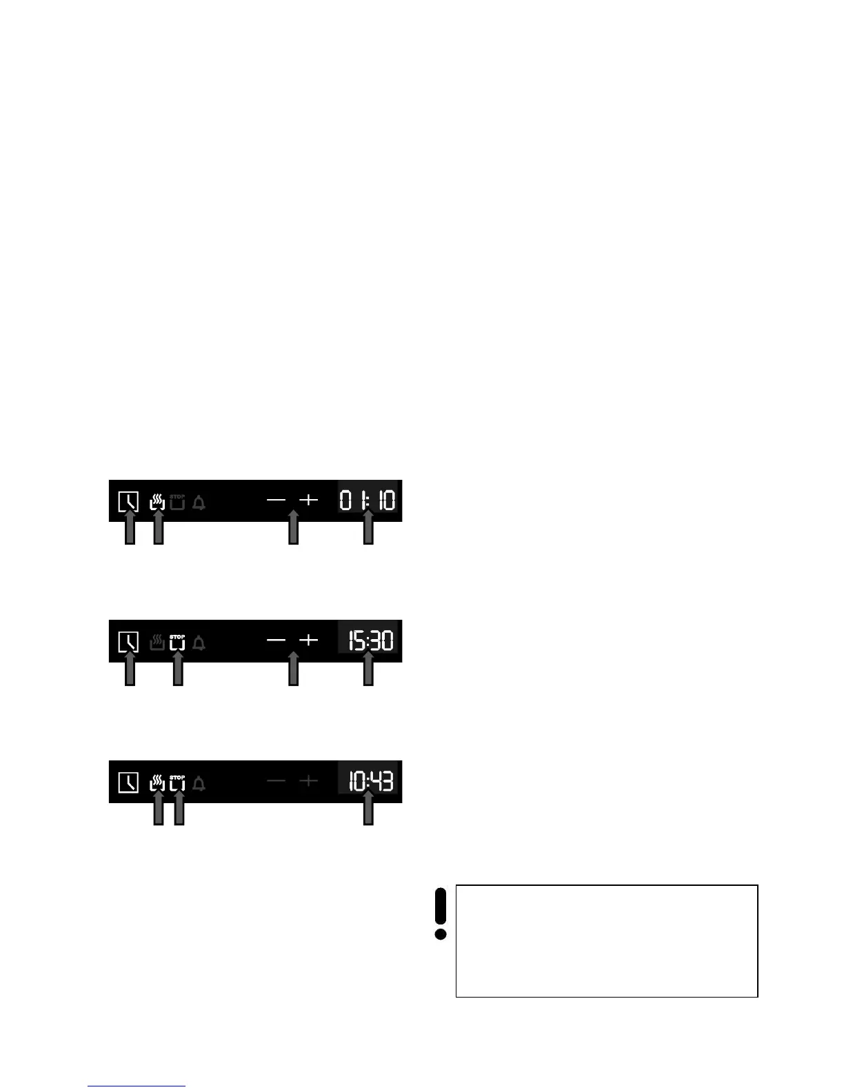
Setting cooking duration and end times
You can combine the cooking duration and end of
cooking time functions to set the start and end
times for cooking. In this way you can program
your electronic oven to cook while you are out or
to defrost foods ready for you to cook when you
get back. A great help in the kitchen!
The programming sequence of these two functions
is arbitrative. You can program first the duration
and then the end of cooking time or the other way
round.
Example: You want so that a dish will be ready for
you arrival at 15:30.
Put the food into the oven and choose the
wanted oven operating function and
temperature.
Touch the key 1 one time to get the lighting
symbol 2.
Touch the choice keys 3 to set the desired
cooking duration 4 (in our example 1 hour
10 minutes).
Touch the key 1 one time to get the lighting
symbol 5.
Touch the choice keys 3 to set the desired
end of cooking time 4 (in our example
15:30).
After a few seconds the oven’s electronic control
takes this value. The oven turns to stand by mode.
The display shows current time 7 (in our example
10:43), the symbols 2 and 5 are lighted.
In our example the oven should turn on at 14:20
for 70 minutes and turn off at 15:30 in accordance
with a preseted programm.
1
2
3
4
1
5
3
6
2
5
7
Advice! The right point to activate the child
lock, to prevent inadvertent shift or
unintentional turning on

Table of Contents

Related product manuals