EasyManua.ls Logo

KAM KCD 1000 CDG - Operations; Playback Control: Pause and Stop

KAM KCD 1000 CDG
12 pages
Print Icon
To Next Page IconTo Next Page
To Next Page IconTo Next Page
To Previous Page IconTo Previous Page
To Previous Page IconTo Previous Page
Loading...
OPERATIONS
1. Opening and Closing the Disc Holder
z Turn the unit power on. Press the OPEN/CLOSE button to open the disc holder. OPEN/CLOSE buttons are
provided on both the main unit and control unit.
z The disc holder cannot be opened during playback to prevent playback from being interrupted if the OPEN/CLOSE
button is pressed accidentally. Stop the playback first, then press the OPEN/CLOSE button.
2. Loading discs
Hold the disc by the edges and place it in the disc holder, then press the
OPEN/CLOSE button again to close the disc holder. The unit will show the total track
number and the total playing time for about 2 seconds then enter the cue condition,
the cue point will be set to the music starting point of the first track automatically.
CAUTION:
Figure 2-1
z
Do not place any foreign objects in the disc holder, and do not place more than one disc in the disc holder at a time.
z
Do not push the disc holder in manually when the power is off, as this may result in malfunction and damages the
player.
3. Selecting Tracks
z Press the SKIP button once to move to next higher or lower track.
z Hold the SKIP button to change tracks continuously at a higher speed.
z When a new track is selected during playback, playback begins as soon as the skip search operation is completed.
z If the skip
button is pressed while at the last track, the first track is selected. In the same way, if the skip
button is pressed while at the first track, the last track is selected.
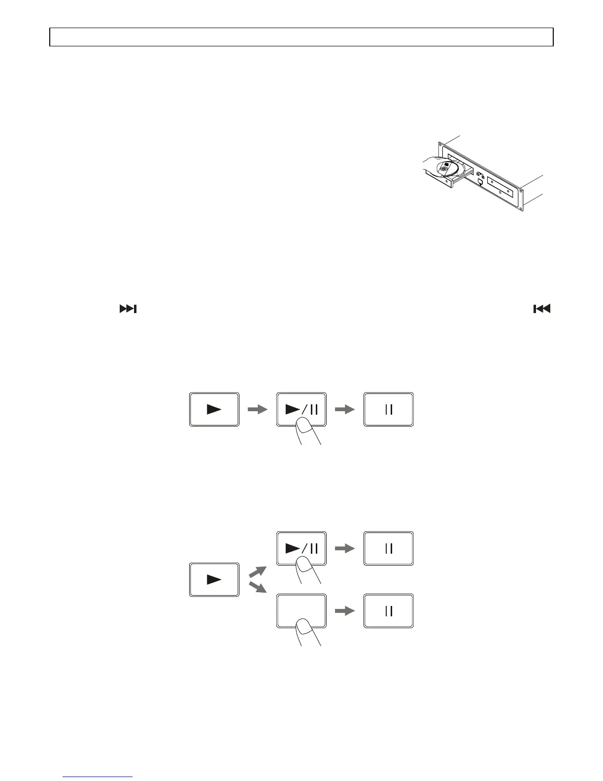
4. Starting Playback
z Press the PLAY/PAUSE button during the pause or cue condition to start playback, the PLAY indicator lights.
z The point at which playback starts is automatically stored in the memory as the cue point. The pickup then returns
to the cue point when the CUE button is pressed. (Back Cue)
Figure 4-1
5. Stopping Playback
z There are two ways to stop playback.
cPress the PLAY/PAUSE button during playback to pause at that point.
dPress the CUE button during playback to return to the cue point and enter pause condition.(Back Cue)
CUE
Figure 5-1