EasyManua.ls Logo

Kanto DMS1000 - Attaching Arm to Base

Kanto DMS1000
12 pages
Print Icon
To Next Page IconTo Next Page
To Next Page IconTo Next Page
To Previous Page IconTo Previous Page
To Previous Page IconTo Previous Page
Loading...
7
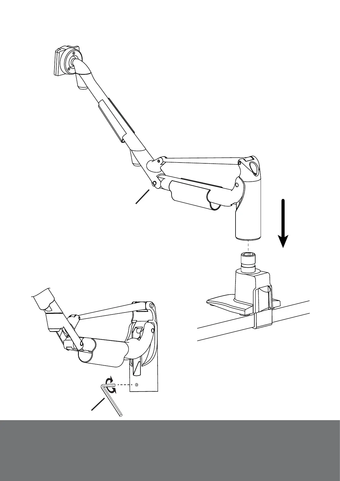
3. Place Arm on Base / Placez le bras sur la base / Coloque el
brazo en la base
A
3.1
3.2
L

Related product manuals