EasyManua.ls Logo

Kanto PX720 - Page 14

Kanto PX720
16 pages
Print Icon
To Next Page IconTo Next Page
To Next Page IconTo Next Page
To Previous Page IconTo Previous Page
To Previous Page IconTo Previous Page
Loading...
14
5mm
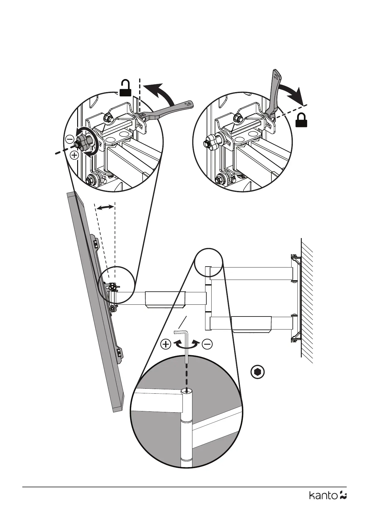
8. Finalize Adjustments
Finalisez les ajustements
Finalice los ajustes
Adjust Arm Tension (Optional)
Réglez la tension des bras (Optionnel)
Ajuste la tensión de los brazos (Opcional)
*
P
*
8 .1
8.2
8.3
8.4

Related product manuals