EasyManua.ls Logo

KDK M56RG - Page 7

KDK M56RG
12 pages
Print Icon
To Next Page IconTo Next Page
To Next Page IconTo Next Page
To Previous Page IconTo Previous Page
To Previous Page IconTo Previous Page
Loading...
7
Neutral (Blue)
Live (Brown)
Earth (Green/Yellow)
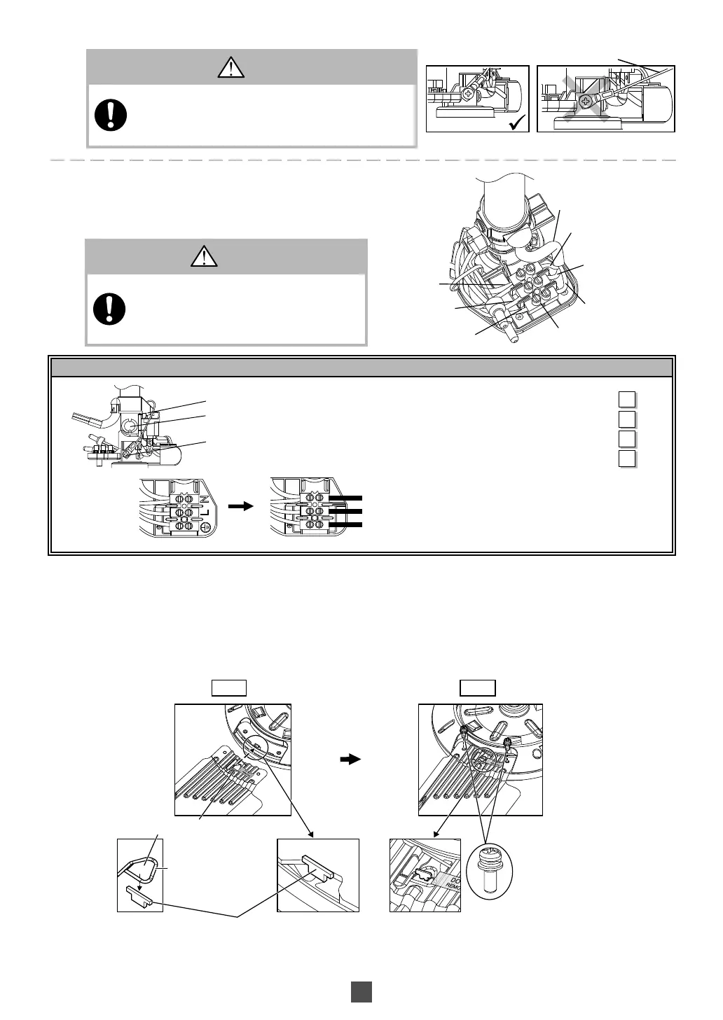
Check Point After Installation
1. Switch Lever press the Switch.
2. The Ellipse Bolt, P-R Washer, Spring Washer and Hexa Nut are fi rmly tightened
and the Cotter Pin is inserted and bent for safety reason.
3. Safety Wire Screw is fi rmly tightened.
4. All wires are connected correctly by competent personnel.
Check
Power cord
3 Pin Terminal
Live (Brown)
Live (Brown)
Earth (Green)
Neutral (Blue)
Earth (Green)
Black
Safety Wire
Wrong position
WARNING
Safety Wire must be fi xed correctly and connected at
all time.
Can cause injury if Ceiling Fan drops.
Ensure the Safety Wire does not touch the Motor surface.
WARNING
Make sure all the Terminals are connected
correctly by competent personnel to avoid
electrical hazards.
Can cause fi re, electrical shock, Ceiling Fan
drops and injuries.
C)
Assemble Blade Assembly Set To Motor Assembly
1
1
Remove Blade Screw (6 pieces, silver colour) from Motor Assembly.
Step 1 : Assemble Blade towards to the Cover Hook as shown in fi gure step 1.
Step 2 : Tighten the Blades fi rmly with Screws (Silver colour).Each Blade use 2 pieces of Screws.
(Tightening torque for reference : 250-300 N•cm)
5
5
Connect the Power Cord to the 3 Pin Terminal.
Blade Screw (6 pieces)
Blade hole
Blade Safety Hanger
Cover Hook
Step 1
Step 2

Related product manuals