EasyManua.ls Logo

Keithley 237 - Page 155

Keithley 237
314 pages
Print Icon
To Next Page IconTo Next Page
To Next Page IconTo Next Page
To Previous Page IconTo Previous Page
To Previous Page IconTo Previous Page
Loading...
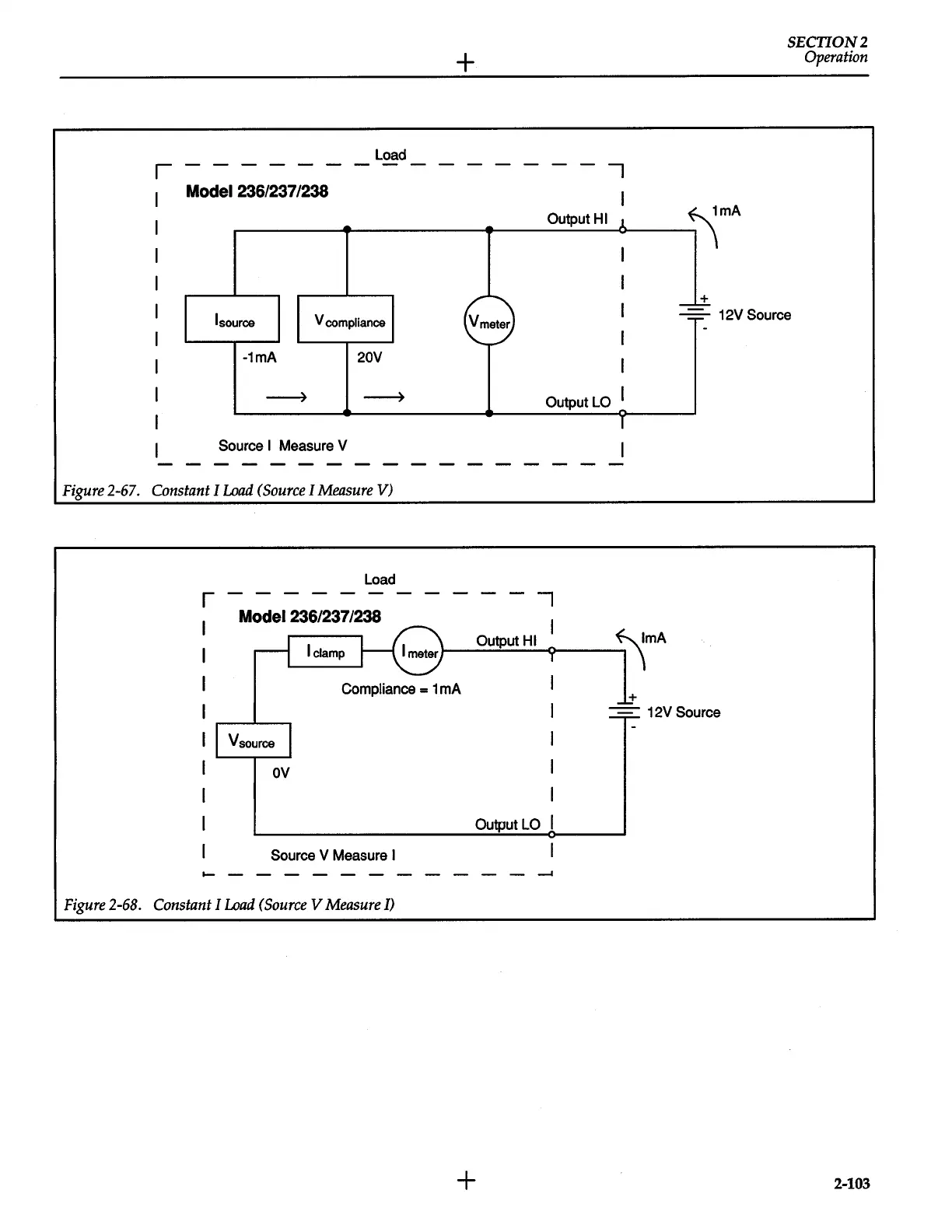
Load
,------
Model
236/237/238
I
source
Vcompliance
-1mA
20V
~
~
Source I
Measure V
Figure
2-67.
Constant
I
Load
(Source
I
Measure
V)
Load
r----
Model 236/237/238
+
Vmeter
-----,
I
Output HI
J.
I
I
I
I
I
Output LO
~
I
-----,
~--o_u~~_ut_H_I~-----ll\mA
Compliance
=
1 mA
ov
Output LO
Source
V Measure
I
___
__.
Figure
2-68.
Constant
I
Load
(Source
V
Measure
I)
+
~mA
+
SECTION2
Operation
-==
r-
--
12V
Source
2-103

Other manuals for Keithley 237

Related product manuals