EasyManua.ls Logo

Keithley 237

Keithley 237
314 pages
To Next Page IconTo Next Page
To Next Page IconTo Next Page
To Previous Page IconTo Previous Page
To Previous Page IconTo Previous Page
Loading...
+
Source Measure Unit
#1
Source Measure Unit #2
Output
LO
Ground
VUnk
Ground
Link~~
Output
LO
....
,.-~---~--
....
,'
Typical
ground
loop
~
\ causes current
flow
1
~
in
output
LO
lead.
1
'--~---~-/
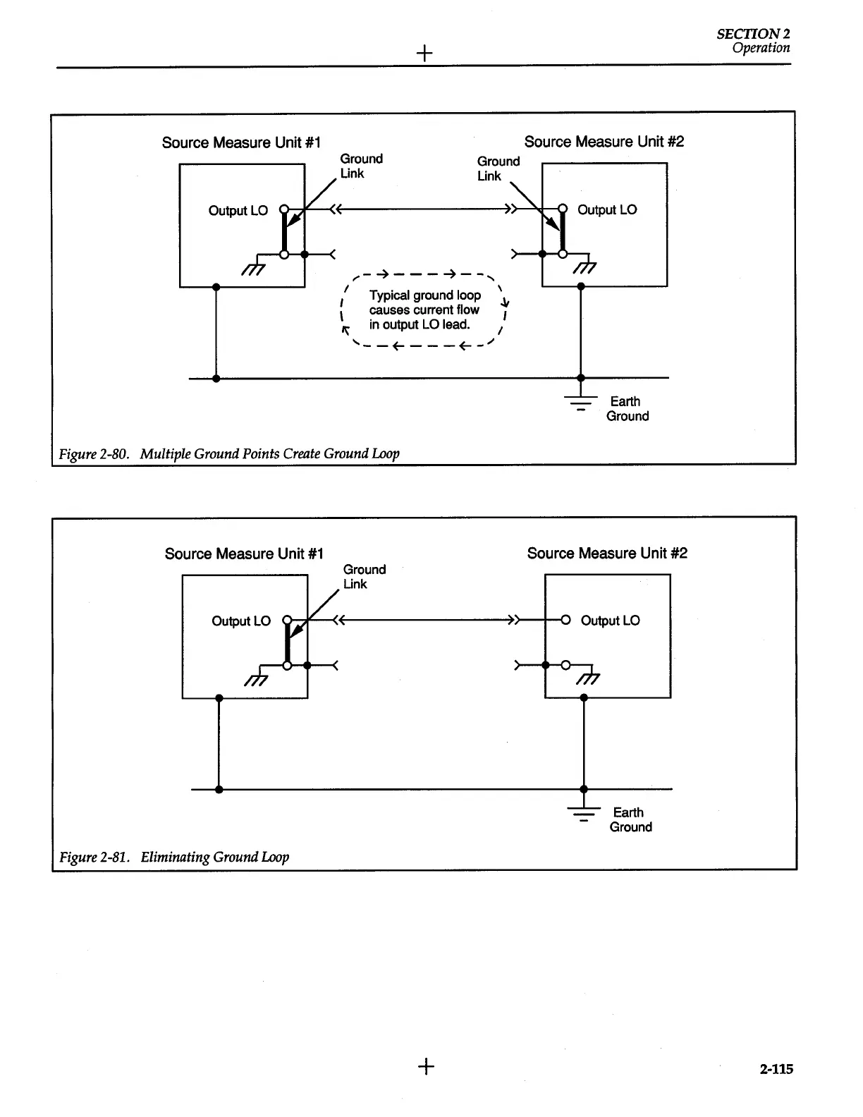
Figure
2-80.
Multiple
Ground
Points
Create
Ground
Loop
Source Measure Unit
#1
Ground
'
_.....__
Earth
Ground
Source Measure Unit #2
OutputLO
I/
link
C~HI'--<~:------------:'~'>---1-0~
Output
LO
Figure
2-81.
Eliminating
Ground
Loop
+
,
-==-
Earth
Ground
SECTION2
Operation
2-115

Other manuals for Keithley 237

Related product manuals