EasyManua.ls Logo

Kenmore Bottom-Mount Refrigerator - Cómo Colocar de Nuevo las Puertas y las Bisagras

Kenmore Bottom-Mount Refrigerator
56 pages
Print Icon
To Next Page IconTo Next Page
To Next Page IconTo Next Page
To Previous Page IconTo Previous Page
To Previous Page IconTo Previous Page
Loading...
26
Instalación del refrigerador
Cómo colocar de nuevo las
puertas y las bisagra
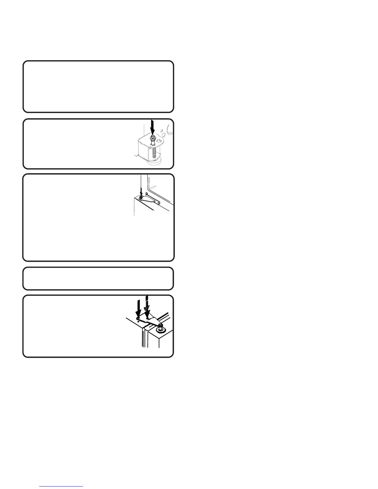
1
Instale los ensambles de la bisagra.
Instale la bisagra sin apretarla con los tornillos
hexagonales de
5
/
16
".
Instale la bisagra central con los tornillos Phillips.
Instale la bisagra inferior con los tornillos
hexagonales de
3
/
8
".
4
Coloque el lado de la bisagra de la puerta del
refrigerador en el pasador de la bisagra central.
2
Inserte el pasador de la bisagra
inferior (en algunos modelos).
Encuentre el orificio de la bisagra
inferior más cercano al borde externo
del gabinete, e inserte el pasador de
la bisagra inferior. Vuelva a colocar
las cuñas de la puerta, si había alguna.
3
Coloque el lado de la bisagra de
la puerta del congelador en el
pasador de la bisagra inferior y
sostenga la puerta verticalmente
mientras instala el pasador de
la bisagra central con un
destornillador hexagonal de
5
/
16
".
Vuelva a colocar todas las cuñas de
puerta que sean necesarias.
Asegúrese de que el pasador de la
bisagra esté bien ajustado.
5
Mientras que sostiene la
puerta del refrigerador
verticalmente, apriete la
bisagra superior con un
destornillador hexagonal de
5
/
16
" y vuelva a colocar la
cubierta de la bisagra.

Table of Contents

Related product manuals