EasyManua.ls Logo

Kenmore RO-550 - Remote RO Installation Options

Kenmore RO-550
20 pages
Print Icon
To Next Page IconTo Next Page
To Next Page IconTo Next Page
To Previous Page IconTo Previous Page
To Previous Page IconTo Previous Page
Loading...

3 U R E O H P V 4 X H V W L R Q V " & D O O    . H Q P R U H : D W H U / L Q H
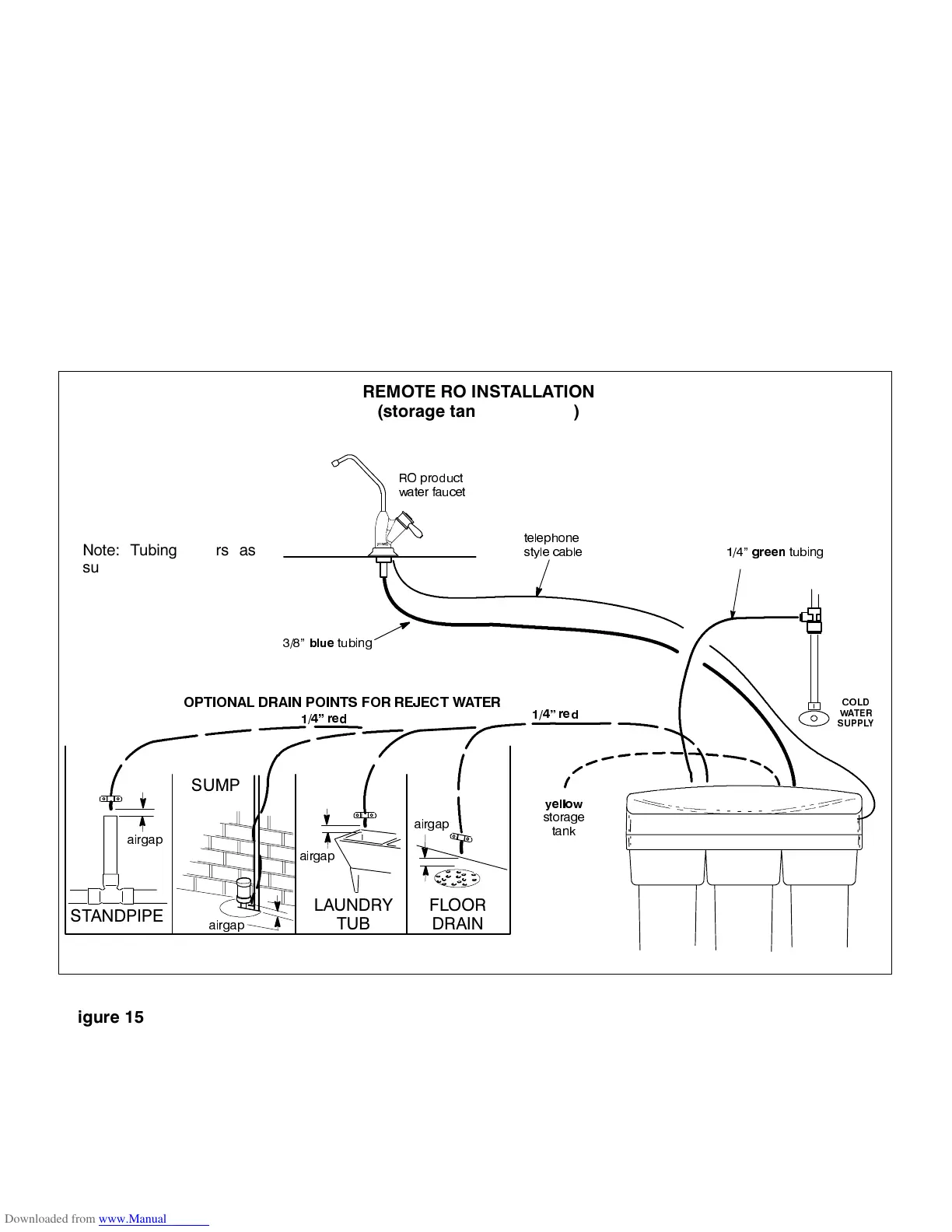
5(027( ,167$//$7,21 /2&$7,216
3RVVLEOH UHPRWH ORFDWLRQV IRU WKH 52 QHDUE\ WKH
NLWFKHQ RU EDWKURRP VLQN LQFOXGH D EDVHPHQW DUHD
XQGHUQHDWK WKH VLQN DQG  DQ DGMDFHQW URRP RU
FORVHW /RQJHU OHQJWKV RI WXELQJ VHH SDUWV OLVW RQ
SDJH  DQG WHOHSKRQH FDEOH H[WHQVLRQ SXUFKDVH OR
FDOO\ PD\ EH QHHGHG
<RX FDQ UXQ WKH GUDLQ WXELQJ GLUHFWO\ WR RQH RI VHYHUDO
VXLWDEOH RSHQ GUDLQ SRLQWV DV VKRZQ EHORZ E\SDV
VLQJ WKH IDXFHW DLUJDS DQG S WUDS GUDLQ 7KLV W\SH RI
GUDLQ LV WKH SUHIHUUHG RYHU WKH S WUDS GUDLQ DGDSWHU
&KHFN \RXU ORFDO FRGHV $OZD\V EH VXUH WR SURYLGH DQ
DLU JDS EHWZHHQ WKH HQG RI WKH KRVH DQG WKH GUDLQ
SRLQW
7HOHSKRQH FDEOH H[WHQVLRQ PXVW FRQVLVW RI D PDOH
FRQQHFWRU RQ RQH HQG DQG D IHPDOH FRQQHFWRU RQ WKH
RWKHU WR NHHS SURSHU SRODULW\ 3RODULW\ PD\ EH UH
YHUVHG LI D FRXSOHU LV XVHG DQG PRQLWRU ZLOO QRW ZRUN
52 SURGXFW
ZDWHU IDXFHW
&2/'
:$7(5
6833/<
l
JUHHQ
WXELQJ
l
EOXH
WXELQJ
67$1'3,3(
DLUJDS
DLUJDS
6803
DLUJDS
/$81'5<
78%
)/225
'5$,1
237,21$/ '5$,1 32,176 )25 5(-(&7 :$7(5
5(027( 52 ,167$//$7,21
VWRUDJH WDQN QRW VKRZQ
DLUJDS
l UHG
l UHG
\HOORZ
VWRUDJH
WDQN
1RWH 7XELQJ FRORUV DV
VXSSOLHG ZLWK 52 V\VWHP
(&2:$7 (5
WHOHSKRQH
VW\OH FDEOH
)LJXUH 

Related product manuals