EasyManua.ls Logo

KERN 572-39 - 1 Mode - Menue

KERN 572-39
37 pages
Print Icon
To Next Page IconTo Next Page
To Next Page IconTo Next Page
To Previous Page IconTo Previous Page
To Previous Page IconTo Previous Page
Loading...
572/573/KB/DS/FKB/FCB-BA-e-0957
3
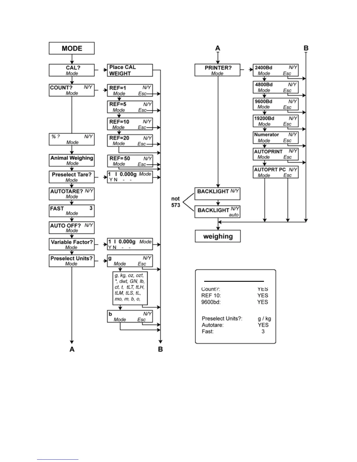
1 MODE - MENUE
Important!
The modified settings - as well as the adjustment - must be stored when switching-off,
via the ON/OFF button.
Manufacture Setting:

Related product manuals