EasyManua.ls Logo

Keyence FS-V11 - Sensitivity Setting Procedures; Automatic Calibration; Manual Calibration; Operation Button Locking

Default Icon
4 pages
Print Icon
To Next Page IconTo Next Page
To Next Page IconTo Next Page
To Previous Page IconTo Previous Page
To Previous Page IconTo Previous Page
Loading...
2
SETTING THE SENSITIVITY
(AUTOMATIC CALIBRATION)
Select the sensitivity setting procedure according to the target
condition.
When the setting is completed, the setting value flashes twice.
For sensitivity adjustment using a moving target
Fully-automatic Calibration
1. Pass a target through the
optical axis while pressing
the SET button.
2. Confirm that the calibration
indicator (orange LED)
flashes.
3. Release the SET button.
The setting value is adjusted
to the midpoint of the differ-
ence between the maximum
and minimum values of the
received light intensity.
If the fully-automatic calibration does not work properly, try the two-
point calibration.
For sensitivity adjustment using a stationary target
Two-point Calibration
1. With no target in place,
press the SET button and
release it. (The orange LED
lights.)
2. Position a target in place.
Press the SET button again
and release it.
The setting value is adjusted
to the midpoint of the differ-
ence in the received light
intensity when the target is
absent and present.
For target positioning
Positioning Calibration
1. With no target, press the
SET button and release it.
(The orange LED lights.)
2. Place a target in the position
where it is to be stopped.
3. Press the SET button for 3
seconds or more until the
calibration indicator (orange
LED) flashes. Release the
SET button.
For maximum sensitivity
Maximum sensitivity setting
1. Under the conditions on the
left, press the SET button
for 3 seconds or more.
2. Confirm that the calibration
indicator (orange LED)
flashes.
3. Release the SET button.
If the detecting distance is insufficient, try the two-point calibration.
Received light intensity
SET
Setting
value
Time
3 seconds
minimum.
Max.
Received light intensity
SET
1 2
Setting
value
Time
SET
12
3 seconds
minimum.
The setting value is adjusted to
turn on the sensor when the target
comes to the place where it should
be stopped.
Reflective type
With no target
Thrubeam type
With target
When the reflective type is used to
detect a target with some objects in
the background, the sensitivity is
set to the maximum value at which
the background objects are not
detected.
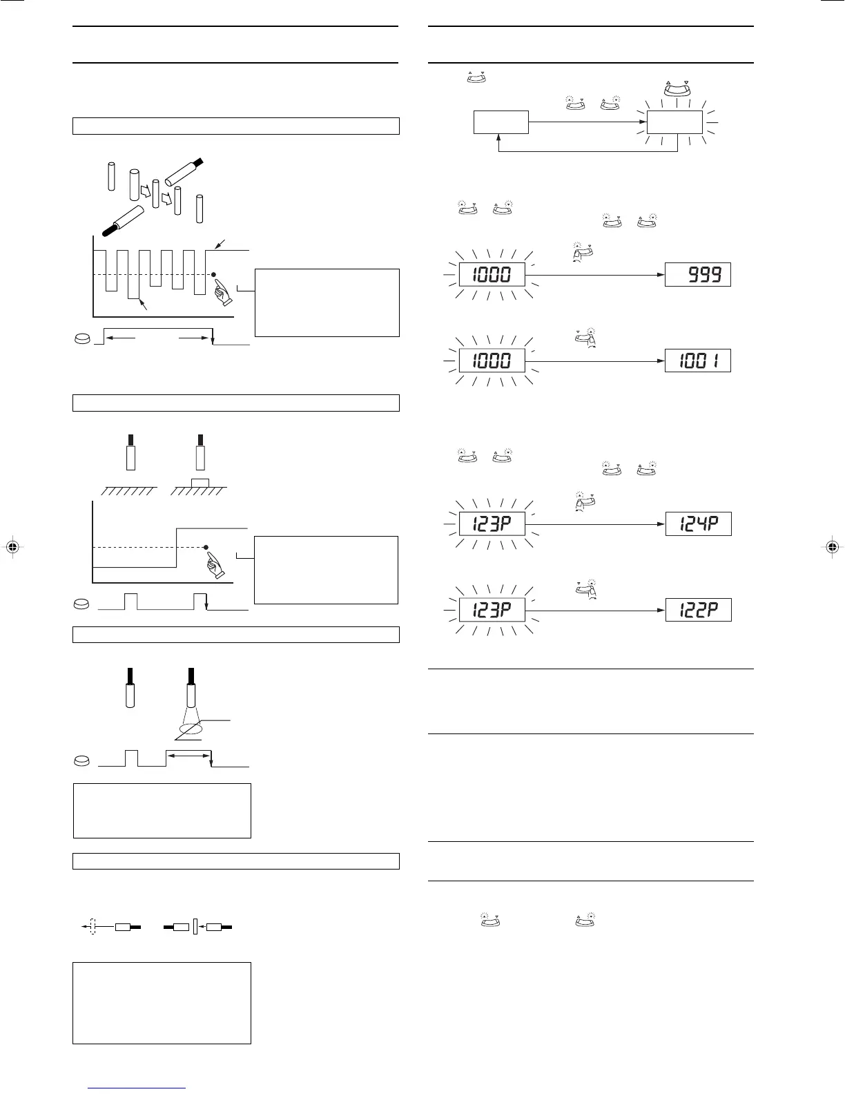
CHANGING THE SETTING VALUE
(MANUAL CALIBRATION)
Use the button.
Received light intensity display
Press or once. The setting value flashes.
Change the setting value by pressing
or while the value is
flashing.
UP DOWN
Current
value display
Press or
once.
Flashing
display
Wait for 2 seconds.
The current value appears after 2 seconds.*
Excess gain display
Press or once. The setting value flashes.
Change the setting value by pressing
or while the value is
flashing.
Press
to increase sensitivity.
(The setting value
decreases.)
Press
to decrease sensitivity.
(The setting value
increases.)
Press
to increase sensitivity.
Press to decrease sensitivity.
The current value appears after 2 seconds.*
Note: If the SET button is pressed by accident while the sensitivity is
being manually changed, the automatic sensitivity setting will start
(The calibration indicator lights.). The sensitivity cannot be changed
until the automatic sensitivity setting is completed (The calibration
indicator goes off.).
* Do not press any buttons other than the manual button while the
setting value is flashing. Otherwise, the value cannot be changed
properly.
When the sensitivity difference is insufficient
If the sensitivity has no allowance, “- - - -” flashes immediately after the
completion of the automatic calibration.
Note: Sensitivity is set and entered even when the sensitivity differ-
ence is insufficient. Be sure to confirm that the detection is properly
performed.
Locking the operation button
Hold down and [MODE] or and [MODE] simultaneously for 3
seconds or more to lock the operation buttons. When “Loc” is dis-
played in flashing letters, the buttons are locked.
To unlock the operation buttons, repeat the procedure above. When
vnL” is displayed in flashing letters, the buttons are unlocked.
Even when the operation buttons are locked, you can change the
display data or output method, or display the setting value.
Min.

Related product manuals