EasyManua.ls Logo

KING OK 201 - Page 13

KING OK 201
22 pages
Print Icon
To Next Page IconTo Next Page
To Next Page IconTo Next Page
To Previous Page IconTo Previous Page
To Previous Page IconTo Previous Page
Loading...
13
Using the Fan Oven
The air inside the oven is heated by the
element around the fan situated behind the
back panel. The fan circulates hot air to
maintain an even temperature inside the
oven.
The advantages of cooking with this
function are:
l Faster Preheating
As the fan oven quickly reaches temperature,
it is not usually necessary to preheat the oven
although you may find that you need to allow
an extra 5-7 minutes on cooking times. For
recipes which require higher temperatures,
best results are achieved if the oven is preheated
first, e.g. bread, pastries, scones, souffles,
etc.
l Lower Temperatures
Fan oven cooking generally requires lower
temperatures than conventional cooking.
Follow the temperatures recommended in the
cooking chart. Remember to reduce
temperatures by about 20-25°C for your own
recipes which use conventional cooking.
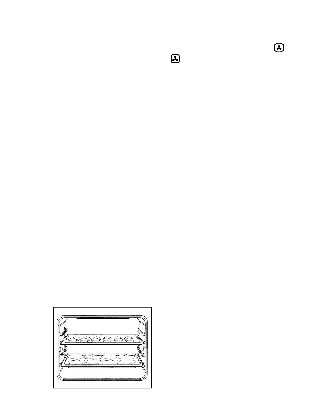
l Even Heating for Baking
The fan oven has uniform heating on all runner
positions. This means that batches of the
same food can be cooked in the oven at the
same time (fig. 9). However, the top shelf may
brown slightly quicker that the lower one. This
is quite usual. There is no mixing of flavours
between dishes.
How to Use the Fan Oven
1. Turn the oven function control knob to -
.
2. Turn the thermostat control to the required
temperature.
THINGS TO NOTE
The oven light will come on when the oven
function control knob is set.
The oven fan will operate continually during
cooking.
The thermostat control light will remain on
until the correct temperature is reached. It
will then cycle on and off to show the
temperature is being maintained.
Tips on using the Oven
- Runner positions are not critical, but
make sure the shelves are evenly spread.
- When cooking more than one dish in the
fan oven, place dishes centrally on the
shelves rather than several dishes on one
shelf.
- When the oven is full, you may need to
allow slightly longer cooking time.
- A shelf may be placed on the floor of the
oven. Place dishes on a shelf in this
position rather than on the oven base, to
allow air circulation around the food.
- When the oven is full of the same food,
e.g. equal trays of small cakes or equal
size victoria sandwich cakes, then they
will be cooked in the same time and
removed from the oven together. When
different sizes of trays or types of food,
e.g. biscuits and cakes are cooked, they
will not necessarily be ready together.
- The fan oven can be used to heat foods
through without thawing first, e.g. fruit
F
FO 0351
Fig. 9

Related product manuals