EasyManua.ls Logo

KingKutter TG-48-XB - Top Gearbox Parts

KingKutter TG-48-XB
36 pages
Print Icon
To Next Page IconTo Next Page
To Next Page IconTo Next Page
To Previous Page IconTo Previous Page
To Previous Page IconTo Previous Page
Loading...
32
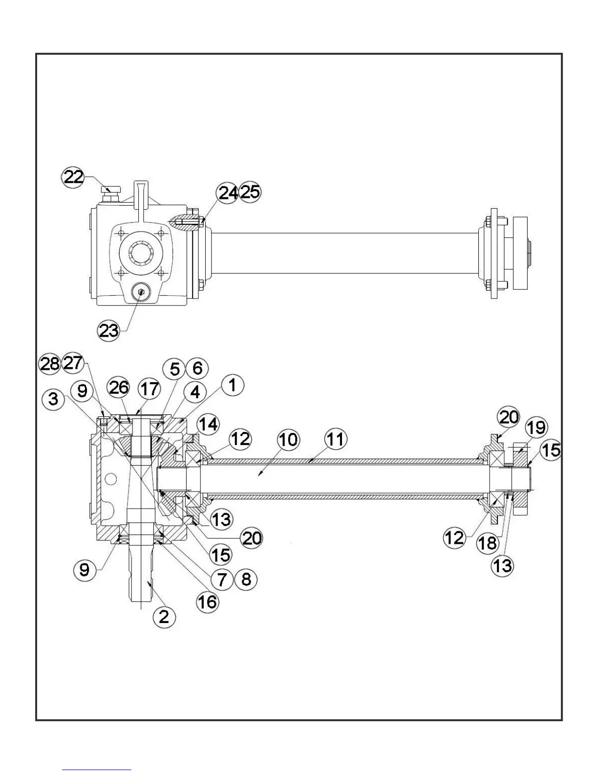
TG-48-XB SERIES TOP GEARBOX PARTS

Related product manuals