EasyManua.ls Logo

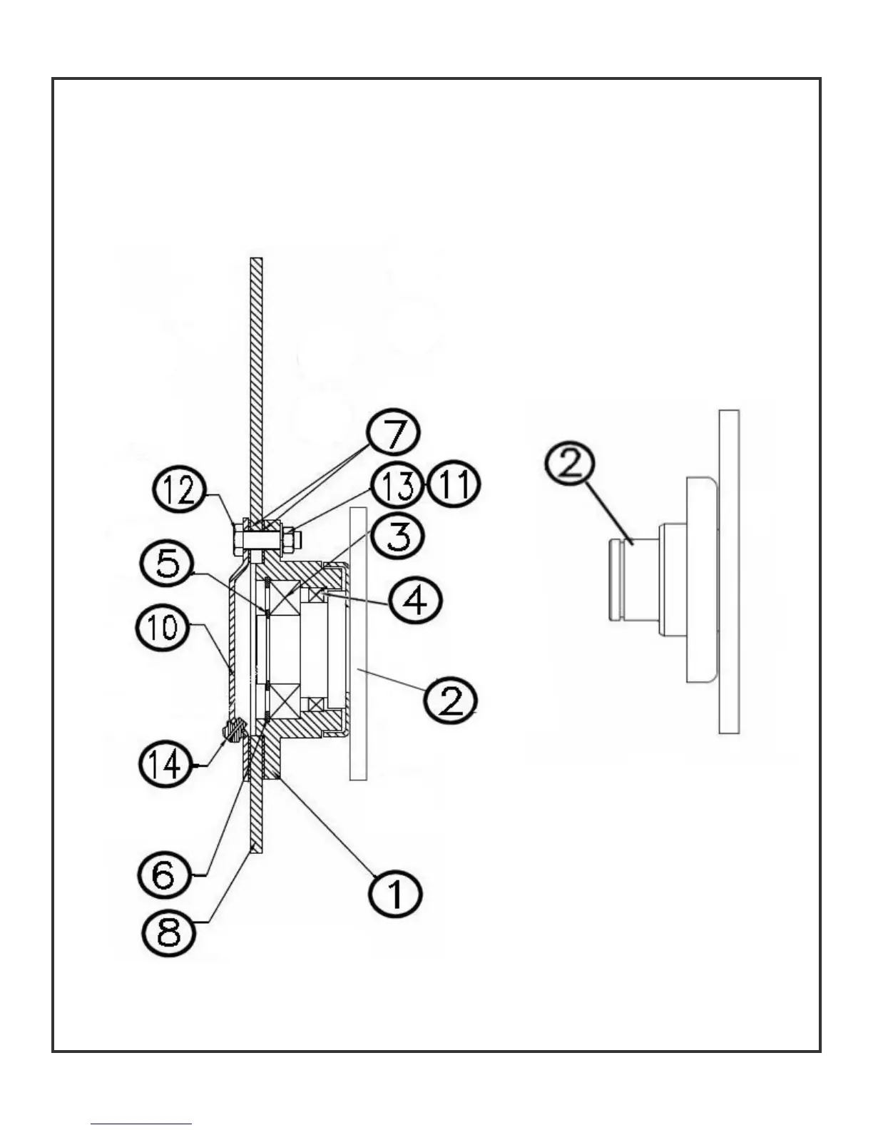
KingKutter TG-48-XB - Hub Parts

KingKutter TG-48-XB
36 pages
Print Icon
To Next Page IconTo Next Page
To Next Page IconTo Next Page
To Previous Page IconTo Previous Page
To Previous Page IconTo Previous Page
Loading...
TG-48-XB HUB PARTS
34

Related product manuals