EasyManua.ls Logo

KingKutter TG-54-XBX - Top Gearbox Parts

KingKutter TG-54-XBX
36 pages
Print Icon
To Next Page IconTo Next Page
To Next Page IconTo Next Page
To Previous Page IconTo Previous Page
To Previous Page IconTo Previous Page
Loading...
32
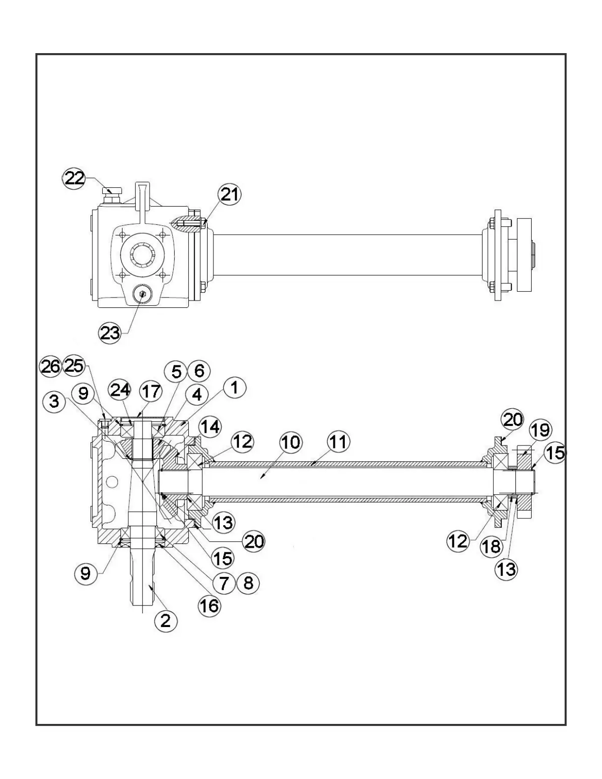
TG-48-XB & TG-54-XBX SERIES TOP GEARBOX