EasyManua.ls Logo

KitchenAid 30" - Before You Start

KitchenAid 30"
7 pages
Print Icon
To Next Page IconTo Next Page
To Next Page IconTo Next Page
To Previous Page IconTo Previous Page
To Previous Page IconTo Previous Page
Loading...
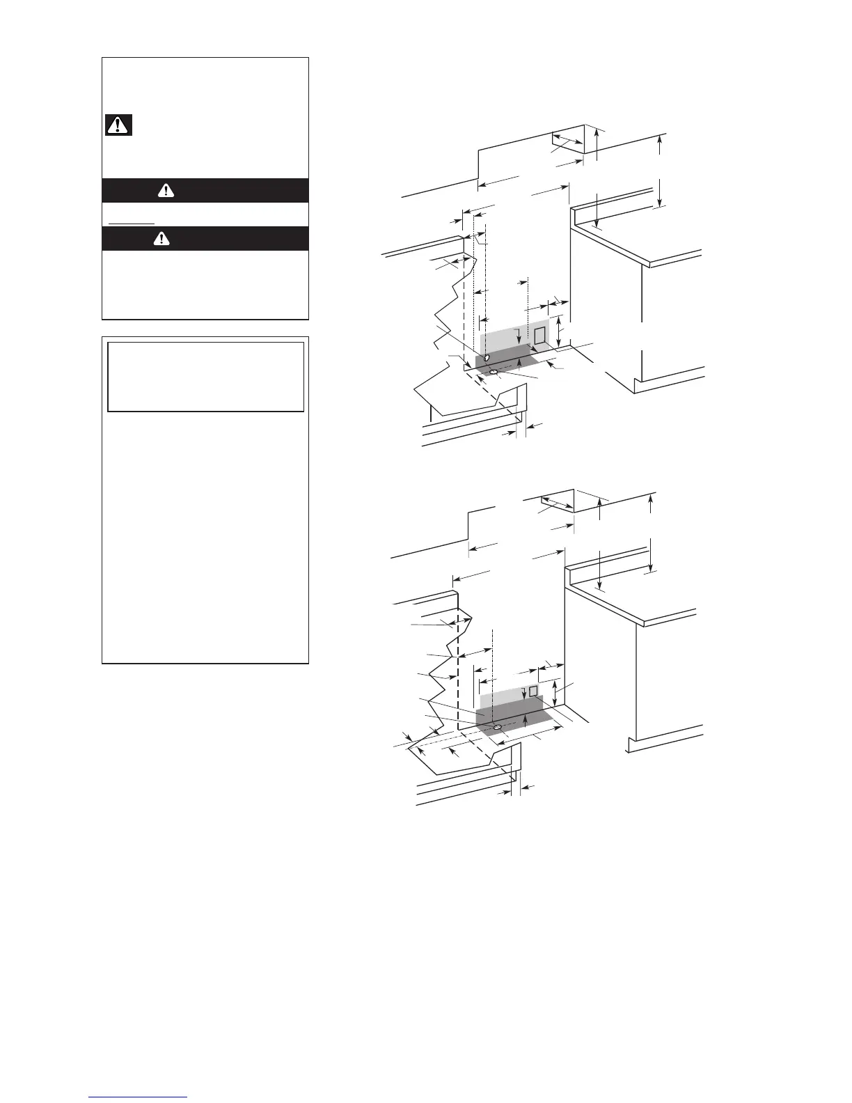
7/8" (2.2 cm) min.
required between
cabinet opening
and door or hinge
opening.
Gas line opening can be
located within this shaded
area.
2-1/2" (6.4
cm)
13" (33 cm) max.
upper cabinet depth
4" (10.2 cm) min. clearance
from both sides of range to
side wall or other
combustible material.
10"
(25.4 cm)
2" (5.1 cm)
2-1/2" (6.4 cm)
6"
(15.2 cm)
floor gas line
opening if directly
below regulator
9" (22.9 cm)
3"
(7.6 cm)
18"
(45.7 cm)
24"
(61 cm)
Panel A
Copies of the standards listed may be obtained from:
*National Fire Protection Association
One Batterymarch Park
Quincy, Massachusetts 02269
**CSA International
8501 East Pleasant Valley Road
Cleveland, Ohio 44131-5575
*** NOTE: 24" (61 cm) min. when bottom of wood or
metal cabinet is protected by not less than 1/4"
(6.4 mm) flame retardant millboard covered with not
less than No. 28 MSG sheet steel, 0.015" (0.4 mm)
stainless steel, 0.024" (0.6 mm) aluminum or 0.020"
(0.5 mm) copper.
30" (76.2 cm) min. clearance between the top of the
cooking platform and the bottom of an unprotected
wood or metal cabinet.
Slide-in Range
IMPORTANT:
Observe all governing codes and
ordinances.
Grounded electrical outlet is required. See
“Electrical requirements, Panel C.
Cabinet opening dimensions that are shown must
be used.
Do not pinch the power supply cord between the
range and the wall.
Do not seal range to side cabinets.
Cabinet opening dimensions
25" (63.5 cm) countertop depth (with or without backsplash)
and 24" (61 cm) base cabinet depth, 36" (91.4 cm) countertop height
Freestanding Range
Outlet should be
located within the 18" x
10" (45.7 cm x 25.4 cm)
shaded area.
Countertop opening dimensions that are shown
must be used. Given dimensions provide required
clearances.
To eliminate the risk of burns or fire by reaching
over heated surface units, cabinet storage space
located above the surface units should be avoided.
If cabinet storage is to be provided, the risk can be
reduced by installing a range hood that projects
horizontally a minimum of 5 inches beyond the
bottom of the cabinets.
Read electrical and carpentry instructions.
Proper installation is your responsibility. A qualified
technician must install this range. Make sure you
have everything necessary for correct installation. It
is the customer’s responsibility to make sure that
the countertop has been properly prepared and that
the installation clearances specified on the
model/serial rating plate are met. The model/serial
rating plate is located on the oven frame behind the
oven drawer.
Check location where range will be installed.The
range should be located for convenient use in the
kitchen. Recessed installations must provide
complete enclosure of the sides and rear of range.
All openings in the wall or floor where range is to be
installed must be sealed.
IMPORTANT: Some cabinet and building materials
are not designed to withstand the heat produced by
the oven for baking and self-cleaning. Check with
your builder or cabinet supplier to make sure that
the materials used will not discolor, delaminate or
sustain other damage.
It is the customer’s responsibility:
To contact a qualified electrical installer.
WARNING: If the information in this
manual is not followed exactly, a fire
or explosion may result causing
property damage, personal injury or
death.
– Do not store or use gasoline or
other flammable vapors and liquids in
the vicinity of this or any other
appliance.
WHAT TO DO IF YOU SMELL GAS
• Do not try to light any appliance.
• Do not touch any electrical switch
• Do not use any phone in your
building.
• Immediately call your gas supplier
from a neighbor’s phone. Follow the
gas supplier’s instructions.
• If you cannot reach your gas
supplier, call the fire department.
– Installation and service must be
performed by a qualified installer,
service agency or the gas supplier.
For minimum
clearance to
cooktop, see
***Note
Your safety and the safety of others
are very important.
We have provided many important safety messages in
this manual and on your appliance. Always read and
obey all safety messages.
This is the safety alert symbol.
This symbol alerts you to potential hazards
that can kill or hurt you and others.
All safety messages will follow the safety alert symbol
and either the word “DANGER” or “WARNING”. These
words mean:
All safety messages will tell you what the potential
hazard is, tell you how to reduce the chance of injury,
and tell you what can happen if the instructions are not
followed.
You can be killed or seriously injured if you don’t
immediately
follow instructions.
You can be killed or seriously injured if you don’t
follow instructions.
WARNING
DANGER
Before you start...
7/8" (2.2 cm) min. required between
cabinet opening and door or hinge
opening.
Gas line opening should
be located within this
shaded area.
4" (10.2 cm) min.
clearance from both sides
of range to side wall or
other combustible material.
Outlet should be
located within
the 18" x 10"
(45.7 x 25.4 cm)
shaded area.
6"
(15.2 cm)
10"
(25.4 cm)
floor gas line opening if
directly below regulator
For minimum
clearance to
cooktop, see
***NOTE
9"
(22.9 cm)
24"
(61 cm)
18" (45.7 cm)
upper side cabinet
to countertop
30" (76.2 cm) cabinet
opening width
13" (33 cm)
max. upper
cabinet depth
3"
(7.6 cm)
2-1/2"
(6.4 cm)
2-1/2"
(6.4 cm)
2"
(5.1 cm)
18"
(45.7 cm)
30" (76.2 cm)
opening width
30" (76.2 cm)
opening width
30" (76.2 cm) cabinet
opening width
IMPORTANT:
Rear vent must be
installed on all slide-in
models for proper
ventilation. See Step 7,
Panel D.
To assure that the electrical installation is adequate
and in conformance with National Electrical Code,
ANSI/NFPA 70 — latest edition*, or CSA Standard
C22.1, Canadian Electrical Code, Part 1 — latest
edition**, and all local codes and ordinances.
NOTE: This appliance is manufactured for use with
Natural Gas. Conversion to L.P. Gas can be made
using the kit included in your literature package.
18" (45.7 cm)
upper side cabinet
to countertop
NOTE: The metal chassis of the range must be
grounded in order for the control panel to work. If
the metal chassis of the range is not grounded, no
keypads will operate. Check with a qualified
electrician if you are not sure the range is
grounded.

Other manuals for KitchenAid 30"

Related product manuals