EasyManua.ls Logo

KitchenAid 5KPM50BWH4 - Case, Gearing, and Planetary Unit Parts

KitchenAid 5KPM50BWH4
8 pages
Print Icon
To Next Page IconTo Next Page
To Next Page IconTo Next Page
To Previous Page IconTo Previous Page
To Previous Page IconTo Previous Page
Loading...
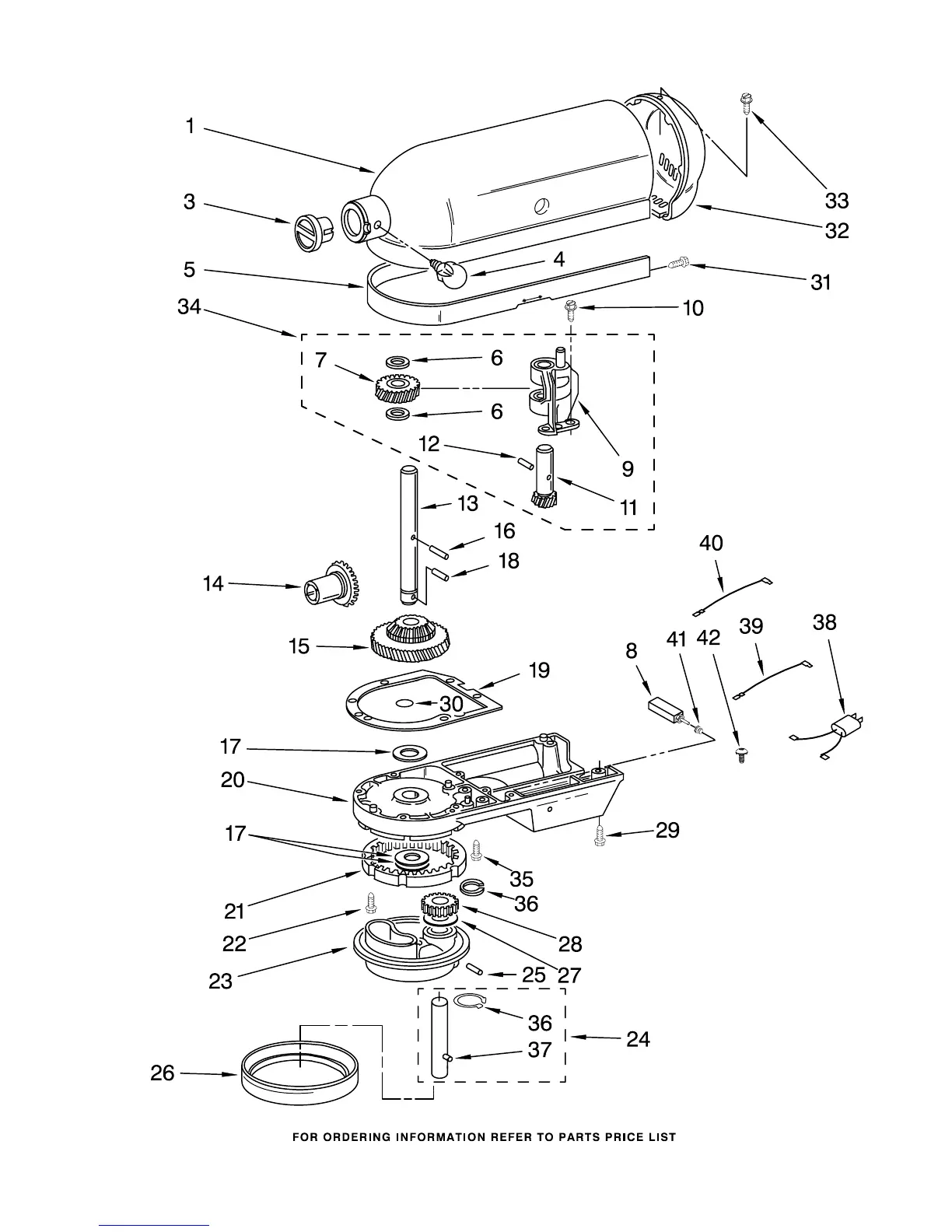
CASE, GEARING AND PLANETARY UNIT
4
8212380
For Models: 5KPM50B__4

Related product manuals