EasyManua.ls Logo

KitchenAid K4SS - Page 40

KitchenAid K4SS
42 pages
Print Icon
To Next Page IconTo Next Page
To Next Page IconTo Next Page
To Previous Page IconTo Previous Page
To Previous Page IconTo Previous Page
Loading...
- 40 -
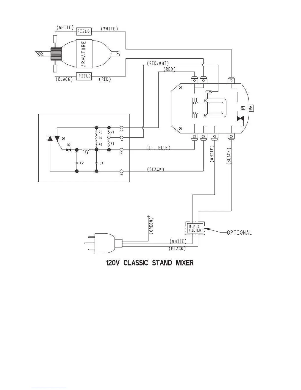
'LDJUDP

Related product manuals