EasyManua.ls Logo

KitchenAid KBFO42FSX00 - Page 3

KitchenAid KBFO42FSX00
20 pages
Print Icon
To Next Page IconTo Next Page
To Next Page IconTo Next Page
To Previous Page IconTo Previous Page
To Previous Page IconTo Previous Page
Loading...
3
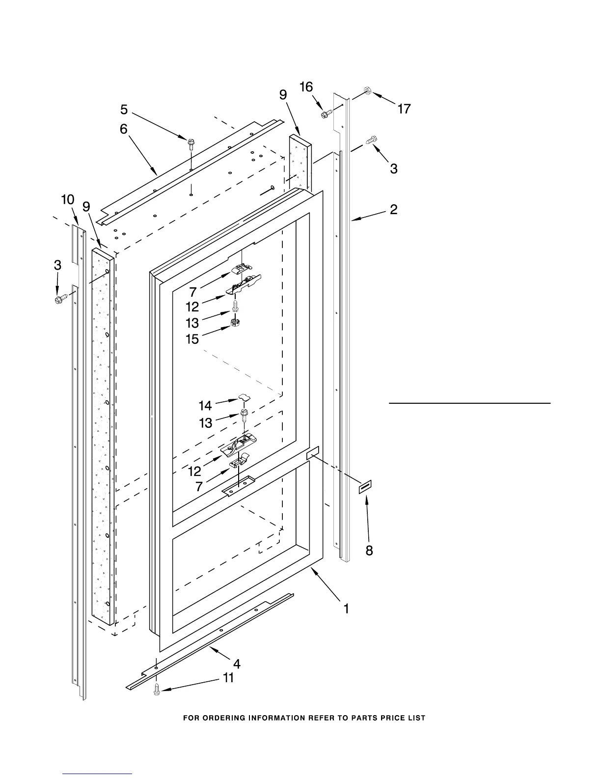
CABINET AND BREAKER TRIM PARTS
8214881
Illus. Part
No. No. DESCRIPTION
1 Breaker, Trim
(Not Serviced)
2 2317102S Cabinet Trim,
Right Side
3 1163283 Screw
4 2307783 Cabinet Trim,
Bottom
5 486194 Screw
6 2313961S Cabinet Trim, Top
7 Cam, Mullion
2316857 Top
2316858 Bottom
8 2005782 Cover, Hinge
9 2005925 Seal−Trim,Side
10 2317103S Cabinet Trim,
Left Side
11 489464 Screw, 8−18 x 1/2
12 Contact, Mullion
2309230 Top
2309231 Bottom
13 486194 Screw
14 2316899 Cover, Screw (2)
(Square)
15 2317078 Cover, Screw (2)
(Round)
16 3400235 Screw (4)
17 2207415 Nut, Hex (4)
For Model: KBFO42FSX00
(Brushed Aluminum)