EasyManua.ls Logo

KitchenAid KBSS361TSS - Wiring Diagram; S Style Model Wiring Diagram

KitchenAid KBSS361TSS
68 pages
Print Icon
To Next Page IconTo Next Page
To Next Page IconTo Next Page
To Previous Page IconTo Previous Page
To Previous Page IconTo Previous Page
Loading...
5-1
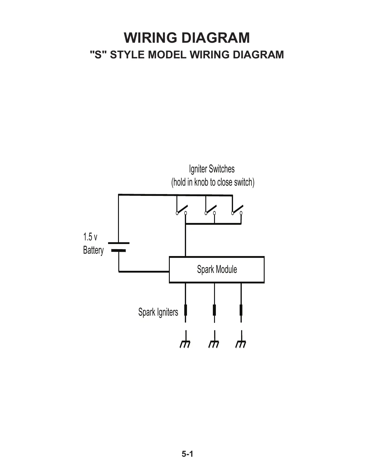
WIRING DIAGRAM
"S" STYLE MODEL WIRING DIAGRAM
1.5 v
Battery
Spark Module
Igniter Switches
(hold in knob to close switch)
Spark Igniters
All manuals and user guides at all-guides.com

Related product manuals