EasyManua.ls Logo

KitchenAid KHDD 3020 - Page 8

KitchenAid KHDD 3020
16 pages
Print Icon
To Next Page IconTo Next Page
To Next Page IconTo Next Page
To Previous Page IconTo Previous Page
To Previous Page IconTo Previous Page
Loading...
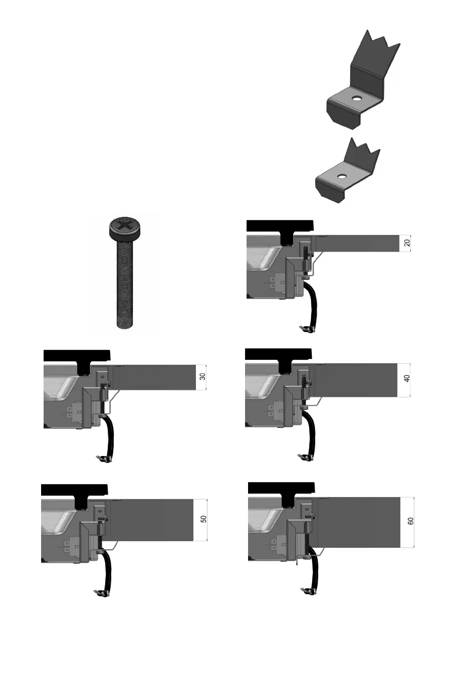
To secure the hob, use the brackets provided:
LONG (A) for kitchen worktops with a depth between 20 mm - 30 mm
SHORT (B) for kitchen worktops with a depth between 35 mm - 60 mm
Fit the brackets into the relevant bores on the bottom of the hob and
fasten using the screws supplied (C) as shown in the following diagrams.
8
A
B
C
IMPORTANT: the power supply cable must be long enough to allow the hob to be lifted upwards for
removal from the worktop.

Related product manuals