EasyManua.ls Logo

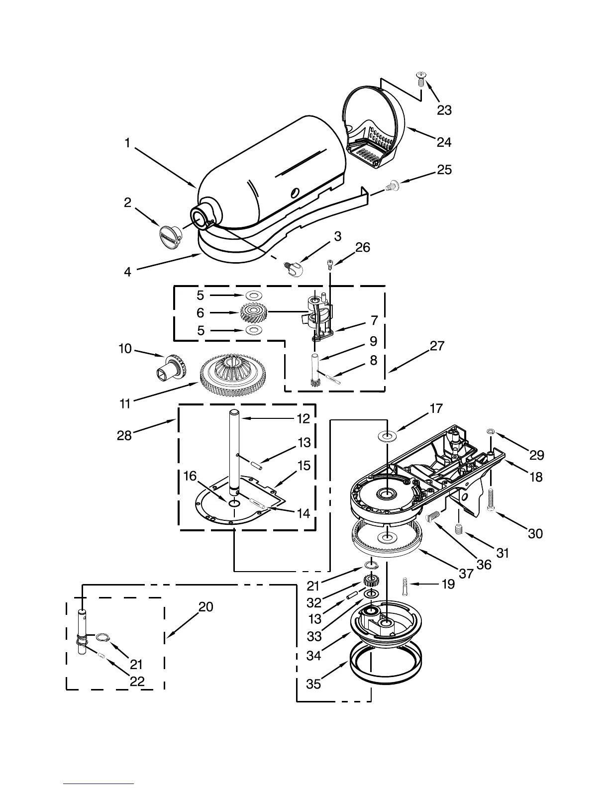
KitchenAid KSM150AGBCA0 - Case, Gearing and Planetary Unit

KitchenAid KSM150AGBCA0
9 pages
Print Icon
To Next Page IconTo Next Page
To Next Page IconTo Next Page
To Previous Page IconTo Previous Page
To Previous Page IconTo Previous Page
Loading...
CASE,GEARINGANDPLANETARYUNIT
07/24/2013
6
PartNo.W10325324Rev.C

Related product manuals