EasyManua.ls Logo

KitchenAid KSM150PSBK0 - Case, Gearing and Planetary Unit

KitchenAid KSM150PSBK0
10 pages
Print Icon
To Next Page IconTo Next Page
To Next Page IconTo Next Page
To Previous Page IconTo Previous Page
To Previous Page IconTo Previous Page
Loading...
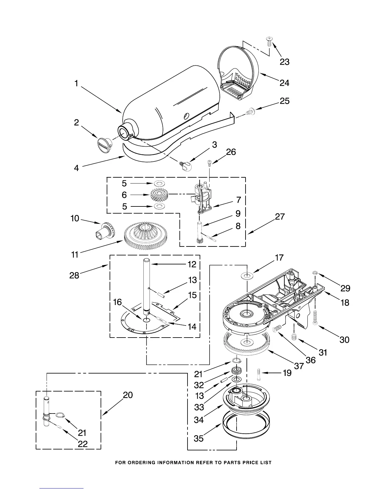
CASE, GEARING AND PLANETARY UNIT
For Models: KSM150PS_ _0, 4KSM150PS_ _0
8212010
6

Related product manuals