EasyManua.ls Logo

KitchenAid KUDK03CTBL3 - Page 9

KitchenAid KUDK03CTBL3
14 pages
Print Icon
To Next Page IconTo Next Page
To Next Page IconTo Next Page
To Previous Page IconTo Previous Page
To Previous Page IconTo Previous Page
Loading...
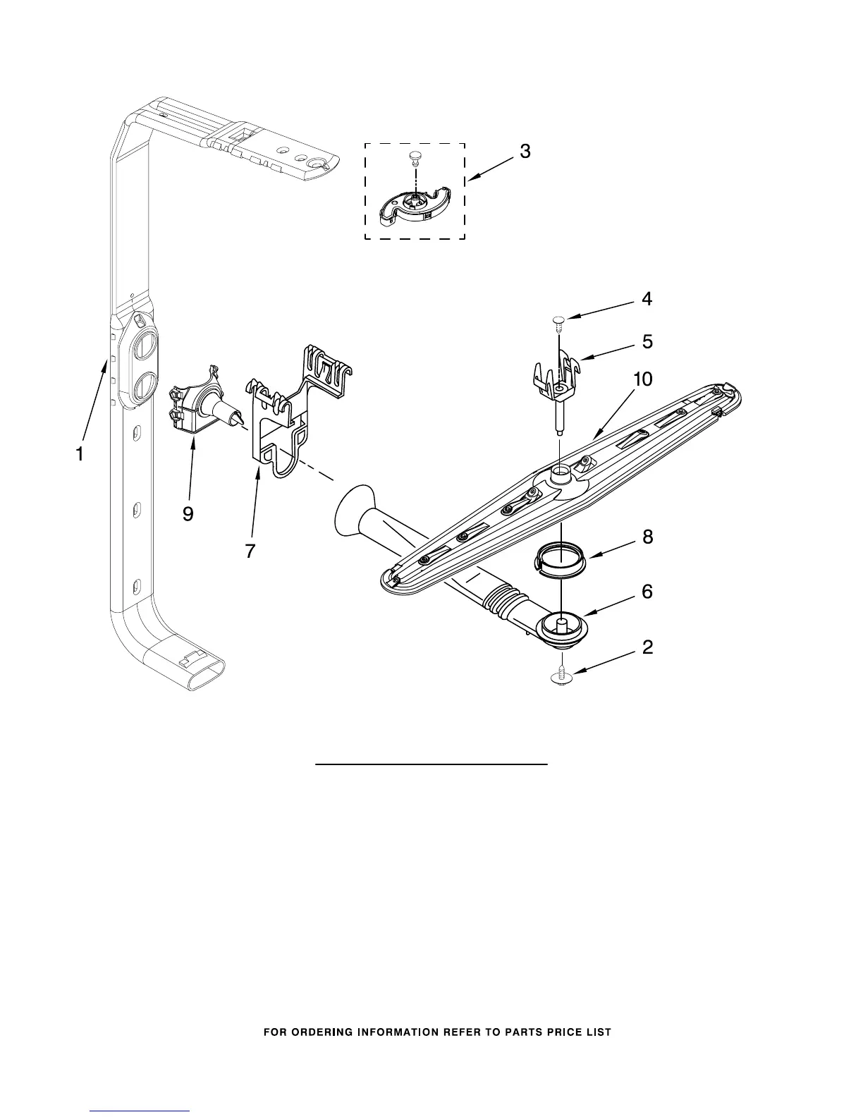
UPPER WASH AND RINSE PARTS
9
For Models: KUDK03CTBL3, KUDK03CTWH3, KUDK03CTSS3
(Black) (White) (Stainless)
W10200698
Illus. Part
No. No. DESCRIPTION
1
W10077896
Feed Tube
Assembly
(Also Includes
Item 3)
2 8533889 Screw
3 8557720 Spinner, 3rd
Level
4
W10118464
Fastener, Push−In
5
W10082867
Mount
6
W10082833
Manifold
7
W10082832
Hanger
8 8268433 Seal, Sprayarm
9
W10077923
Nozzle−Feed
10
W10082841
Sprayarm

Related product manuals