EasyManua.ls Logo

KLUBB K32 - Hydraulic and Electric Schematics; Hydraulic System Diagram

KLUBB K32
65 pages
Print Icon
To Next Page IconTo Next Page
To Next Page IconTo Next Page
To Previous Page IconTo Previous Page
To Previous Page IconTo Previous Page
Loading...
USER MANUAL Latest review : 09/05/2016 RD
48
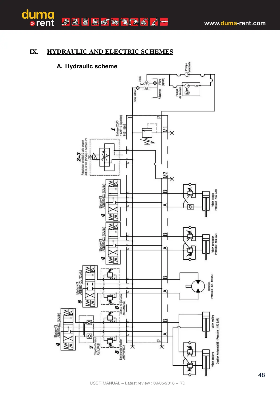
IX. HYDRAULIC AND ELECTRIC SCHEMES
A. Hydraulic scheme
www.duma-rent.com

Table of Contents

Related product manuals