EasyManua.ls Logo

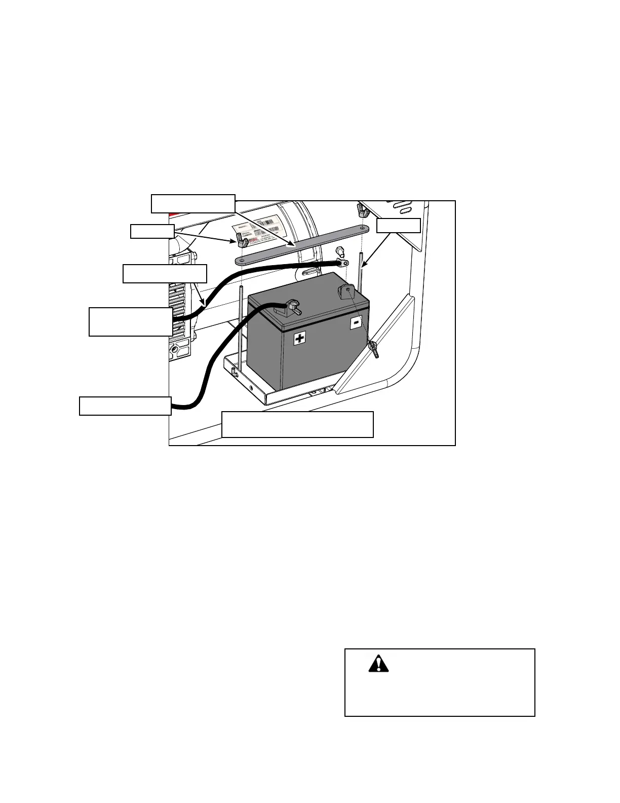
Kodiak KD5000D - Install BATTERY

Kodiak KD5000D
40 pages
Print Icon
To Next Page IconTo Next Page
To Next Page IconTo Next Page
To Previous Page IconTo Previous Page
To Previous Page IconTo Previous Page
Loading...

 
 

 
 
 
 

 

 
 


 








 

 


 





 




 


 


 












Related product manuals