EasyManua.ls Logo

Kohler 4CKM - Controller Overview

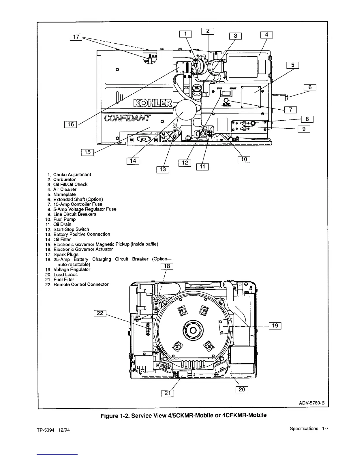
Kohler 4CKM
35 pages
Print Icon
To Next Page IconTo Next Page
To Next Page IconTo Next Page
To Previous Page IconTo Previous Page
To Previous Page IconTo Previous Page
Loading...

Other manuals for Kohler 4CKM

Related product manuals