EasyManua.ls Logo

Kohler COMMAND CH20 - Page 224

Kohler COMMAND CH20
232 pages
Print Icon
To Next Page IconTo Next Page
To Next Page IconTo Next Page
To Previous Page IconTo Previous Page
To Previous Page IconTo Previous Page
Loading...
11.26
Section 11
Reassembly
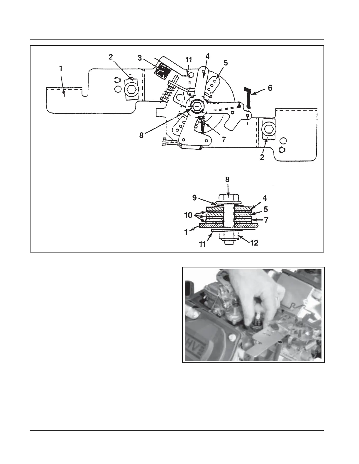
Figure 11-87. Throttle/Choke Control Bracket Detail.
Install Oil Sentry
(If So Equipped)
1. Apply pipe sealant with Teflon
®
(Loctite
®
No.
59241 or equivalent) to the threads of the Oil
Sentry
switch and install it into the breather
cover. See Figure 11-88. Torque to 4.5 N·m
(40 in. lb.).
2. Connect the wire lead (green) to the Oil Sentry
terminal.
Install Control Panel (If So Equipped)
1. Install the panel to the blower housing.
2. Connect the throttle control cable or shaft.
3. Connect the choke control cable to the control
bracket.
4. Connect the Oil Sentry™ indicator light wires.
Figure 11-88. Installing Oil Sentry
Switch.
Item Description
1 Bracket, speed control
2 Clamp, cable (some applications)
3 Kill Switch (some applications)
4 Lever, choke (top position)
5 Lever, throttle control (middle)
6 Linkage, choke control
7 Lever, throttle actuator (bottom)
8 Screw, M5x0.8x20
9 Washer, wave
10 Washer, flat (3)
11 Spring, choke return
12 Nut, M5x0.8 lock

Other manuals for Kohler COMMAND CH20

Related product manuals