EasyManua.ls Logo

Korg Trident - Block Diagram

Korg Trident
28 pages
Print Icon
To Next Page IconTo Next Page
To Next Page IconTo Next Page
To Previous Page IconTo Previous Page
To Previous Page IconTo Previous Page
Loading...
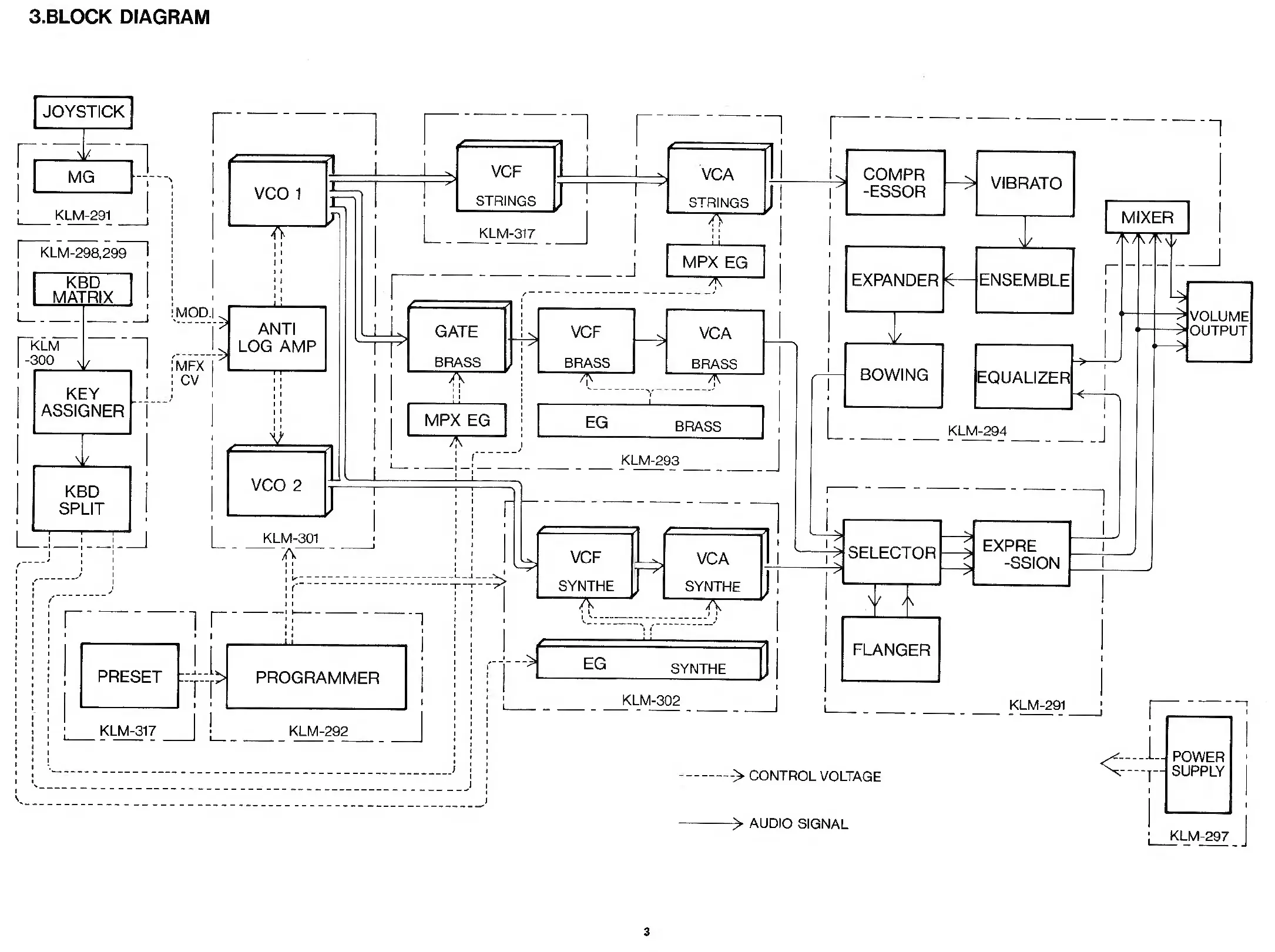
3.BLOCK
DIAGRAM
g
fs
3
Y
<x
WG
=
'
oc
CH
Z
a
ti
ae
'
>
g
ia
;
=
=
:
x
hi
ira
I
fe)
nr
1
5
oO
a
Zz
WwW
FT
s
\
o}
n
iL
&
°
=
--
S
ail
fe)
a
=
ee
e
Zz
Q
fe)
1
A
Ww
1
c-
1
E
S|
a
2,
alan
g
3
=
i)
=,
Z,
4
Ww
we
10)
i
OF
Ww
>
n
1
<
1S)
al
n
>
{e)
=
KLM-292
aes
gor
1
KLM-291
KLM-298,2
——->
AUDIO
SIGNAL

Other manuals for Korg Trident

Related product manuals