EasyManua.ls Logo

KRESS PSE 75 Edition - Page 23

KRESS PSE 75 Edition
Print Icon
To Next Page IconTo Next Page
To Next Page IconTo Next Page
To Previous Page IconTo Previous Page
To Previous Page IconTo Previous Page
Loading...
PSE 75 EDITION Svenska
23
Innan åtgärder vidtas på maskinen ta alltid bort
stickproppen ur uttaget.
Maskinen får endast användas med monterat stöd-
handtag
12
. Montera handtaget på maskinens spänn-
hals, vrid det till önskad arbetsläge och spänn kraftigt
fast med hjälp av handtagshylsan.
Anslut nätkabelmodulen till maskinens handtag. Se till
att stickkontakten faller i läge.
Nätkabelmodulen får endast användas för Kress-
elverktyg; försök inte driva andra maskiner med
denna kabel.
Använd uteslutande original Kress-nätkabelmoduler
och en kraftig gummikabel som åtminstone motsvarar
kod H07 RN-F.
Kontrollera innan maskinen startas att nätspän-
ningen överensstämmer med data på maskinens
typskylt.
IN-/FRÅNKOPPLING
Tryck ned eller släpp strömställaren
6
.
Strömställaren kan låsas med spärrknapp
5
. För upp-
låsning tryck kort ned strömställare
6
och släpp åter.
VRIDSTOPP
Med vridstoppsomkopplaren
4
kan två inställningar
väljas.
1
= Borrning/slagborrning, omrörning
= Ingen rotation: Lätta mejselarbeten.
Omkoppling sker bekvämast när maskinen är
avstängd.
Sed omkopplaren
6
påverkats resp vid start av maski-
nen kopplar växeln till förvald inställning.
BORRNING - SLAGBORRNING
För borrning ställ omkopplaren
10
i läge .
För slagborrning ställ i läge .
Omkoppling sker bekvämast när maskinen är
avstängd.
Sed omkopplaren
6
påverkats resp vid start av maski-
nen kopplar växeln till förvald inställning.
Obs:
Slagborrning med inställd vänstergång skadar
maskinen. Vid arbeten med diamantborrkronor och
vid omrörning skall slagverket frånkopplas.
För mejsling/bilning ställ omkopplaren
4
i läge .
Använd vid slagborrning uteslutande med hård-
metall belagda borrar med SDS-plus-skaft.
Vanliga
stenborrar med cylindriskt skaft kan inte användas
med hjälp av adapter
13
och normal borrchuck i kom-
bination med pneumatiska slagverket.
VARVTALSREGLERING
Med strömställaren
6
kan varvtalet
regleras steglöst. Vid lätt nedtryck-
ning av strömställaren
6
roterar
maskinen med lågt varvtal; med
högre tryck ökar varvtalet.
OMKOPPLING AV ROTATIONSRIKTNING
Omkopplaren för rotationsrikt-
ning
9
får endast aktiveras när
maskinen står stilla!
Grip tag i omkopplaren
9
på båda
sidorna.
Högergång:
Ställ omkopplaren
9
i läge „
R
“.
Vänstergång:
Ställ omkopplaren
9
i läge „
L
“.
Viktigt!
Vrid alltid omkopplaren
9
fram till
stopp mot motorhuset, dvs tills den
tydligt låser i läge.
Står omkopplaren
9
i läge mellan „
R
“ och „
L
“, kan
maskinen inte kopplas till.
För fastspänning av borr- och mejselverktyg i verk-
tygsfästet
1
behövs inga hjälpverktyg.
INSÄTTNING AV VERKTYG
Innan åtgärder vidtas på maskinen ta alltid bort
stickproppen ur uttaget.
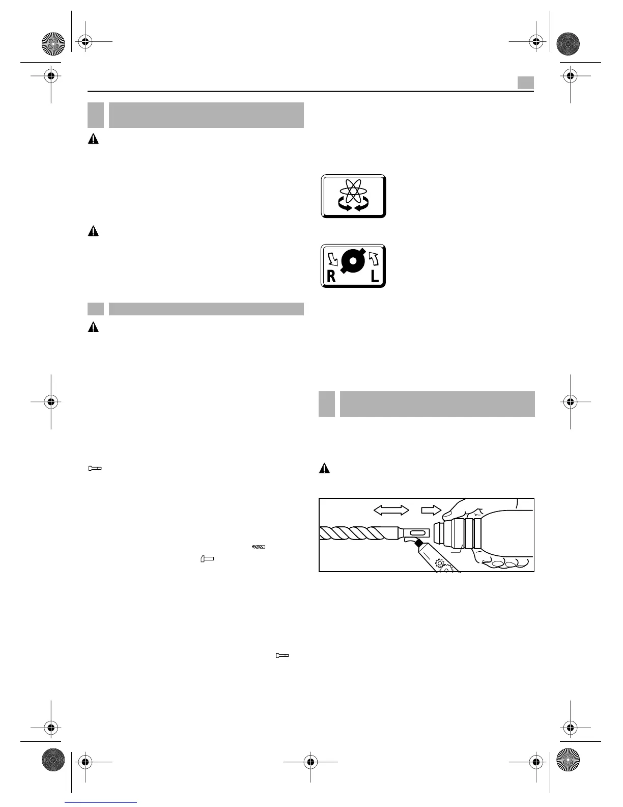
Rengör och fetta lätt in verktygsskaftet.
Skjut upplåsningshylsan
3
bakåt. Skjut sedan in verk-
tyget med roterande rörelse tills det faller i låsläge.
Släpp därefter upplåsningshylsan och kontrollera att
verktyget sitter stadigt.
Kontrollera att dammskyddet
2
är i fullgott skick.
Defekt dammskydd skall omedelbart bytas mot
nytt!
5
Så här monteras stödhandtag och
nätkabelmodul
6 Driftstart
7
Ditsättning och borttagning av
verktyg
Fett
3

Related product manuals