EasyManua.ls Logo

KRESS PSE 75 Edition - Page 26

KRESS PSE 75 Edition
Print Icon
To Next Page IconTo Next Page
To Next Page IconTo Next Page
To Previous Page IconTo Previous Page
To Previous Page IconTo Previous Page
Loading...
26
Dansk PSE 75 EDITION
Træk netstikket ud, før ethvert arbejde på værktø-
jet påbegyndes.
Benyt kun værktøjet i forbindelse med ekstra-hånd-
grebet
12
. Anbring grebet på boremaskinens spæn-
dehals, drej det i arbejdsposition og spænd det godt
ved hjælp af grebets kappe.
Tilslut netkabelmodulet til håndgrebet. Stikket skal
falde i indgreb.
Benyt kun netkabelmodulet til Kress-el-værktøj.
Forsøg ikke at benytte modulet til andre apparater.
Benyt kun originale Kress-netkabelmoduler (mindst
tung gummislangeledning (kodebetegnelse
H07 RN-F.)
Før værktøjet tages i brug, skal det kontrolleres, at
netspændingen stemmer overens med angivel-
serne på værktøjets typeskilt.
TÆND-/SLUK
Tænd-/sluk-kontakten
6
trykkes ind eller slippes.
Tænd-/sluk-kontakten kan arreteres med låseknap-
pen
5
. Tænd-/sluk-kontakten kan arreteres med låse-
knappen
6
i et kort øjeblik og derefter slippe den.
DREJESTOP
Der kan vælges to indstillinger med drejestopkontak-
ten
4
.
1
= Boring/hammerboring, rørearbejde
= Ingen drejebevægelse: Let mejselarbejde.
Der kan bedst omskiftes fra hammerboring til mejs-
ling, når værktøjet står stille.
Når der trykkes på tænd-/sluk-kontakten
6
hhv. når
maskinen starter, skifter gearet til det indstillede trin.
BORING - HAMMERBORING
Til borearbejde stilles omskifteren
10
.
Til hammerboring stilles omskifteren på .
Der kan bedst omskiftes fra hammerboring til mejs-
ling, når værktøjet står stille.
Når der trykkes på tænd-/sluk-kontakten
6
hhv. når
maskinen starter, skifter gearet til det indstillede trin.
Henvisninger:
Venstreløb under hammerboring
beskadiger boret. Ved arbejde med diamant-borekro-
ner og ved rørearbejde slukkes slagværket.
Til mejselarbejde stilles vælgeren
4
.
Benyt udelukkende hårdmetalbor med SDS-plus-
skaft til hammerboring.
Det er ikke muligt at bruge
almindelige stenbor med cylinderskaft v.h.a. adapte-
ren
13
og en almindelig borepatron, når det pneuma-
tiske hammerværk skal benyttes.
STYRING AF OMDREJNINGSTAL
Tænd-/sluk-kontakten
6
giver
mulighed for en trinløs styring af
omdrejningstallet. Ved et let tryk
på tænd-/sluk-kontakten
6
begyn-
der værktøjet langsomt at dreje;
omdrejningstallet øges med tilta-
gende tryk.
ÆNDRING AF OMDREJNINGSRETNING
Tryk kun på retningsomskifteren
9
,
når værktøjet står stille!
Grib fat i retningsomskifteren
9
begge sider.
Højreløb:
Retningsomskifter
9
stilles på „
R
“.
Venstreløb:
Retningsomskifter
9
stilles på „
L
“.
Vigtigt!
Tryk retningsomskifteren
9
igennem
indtil stop på huset (dvs. indtil den
falder mærkbart i hak).
Hvis retningsomskifteren
9
står mellem pos. „
R
og „
L
“, kan værktøjet ikke tændes.
Værktøjsholderen
1
fastspænder bore- og mejsel-
værktøj uden brug af værktøjsnøgle.
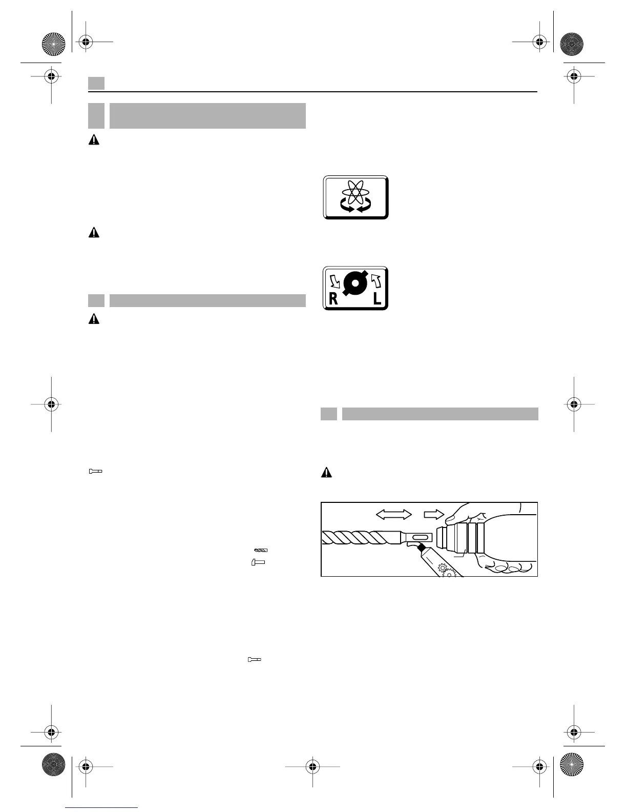
ISÆTNING AF VÆRKTØJ
Træk netstikket ud, før ethvert arbejde på værktø-
jet påbegyndes.
Rengør værktøjsskaftet og indfedt det en smule.
Træk sikkerhedskappen
3
tilbage. Værktøjet skal dre-
jes, når det føres ind i værktøjsholderen, indtil det
falder i indgreb. Slip låsekappen. Kontrollér værktøjet
for korrekt montering.
Vær opmærksom på, at støvhætten
2
ikke beskadi-
ges.
En beskadiget støvhætte skal ubetinget udskiftes!
5
Montering af ekstra-håndgreb og
netkabelmodul
6 Ibrugtagning
7 Isætning/udtagning af værktøj
Fett
3

Related product manuals