EasyManua.ls Logo

KRESS PSE 75 Edition - Page 29

KRESS PSE 75 Edition
Print Icon
To Next Page IconTo Next Page
To Next Page IconTo Next Page
To Previous Page IconTo Previous Page
To Previous Page IconTo Previous Page
Loading...
PSE 75 EDITION Norsk
29
Før alle arbeider på maskinen utføres må støpselet
trekkes ut.
Bruk maskinen kun med ekstrahåndtak
12
. Trekk
skruen på ekstrahåndtaket godt fast. Slik forhindres
det at ekstrahåndtaket vrir seg på spennhalsen eller
løsnes fra maskinen.
Kople nettkabelmodulen til håndtaket. Støpselet må
gå i inngrep.
Bruk nettkabelmodulen kun for Kress-elektroverk-
tøy. Ikke forsøk å bruke andre maskiner med
denne.
Bruk kun original Kress-nettkabelmoduler og minst
tung gummislangeledning (kodebetegnelse
H07 RN-F).
Før maskinen tas i bruk må det kontrolleres om
nettspenningen stemmer overens med informasjo-
nene på maskinens typeskilt.
INN-/UTKOPLING
Trykk hhv. slipp på-/av-bryter
6
.
På-/av-bryteren kan låses med låseknapp
5
. Til løsing
trykkes på-/av-bryter
6
ett øyeblikk og slippes igjen.
DREIESTOPP
Med dreiestoppbryter
4
kan du velge to innstillinger.
1
= Boring/hammerboring, rørearbeider
= Ingen dreiebevegelse: Lette meiselarbeider.
Omkoplingen kan best utføres i stillstand.
Etter trykking av på-/av-bryter
6
hhv. under starting av
maskinen kopler giret til forvalgt stilling.
BORING - HAMMERBORING
Til boring settes omkopler
10
.
Til hammerboring innstilles .
Omkoplingen kan best utføres i stillstand.
Etter trykking av på-/av-bryter
6
hhv. under starting av
maskinen kopler giret til forvalgt stilling.
Merk:
Venstregang ved hammerboring skader bor-
maskinen. Under arbeid med diamant-borekroner og
ved rørearbeider må slagverket slås av.
Til meiselarbeid settes omkopler
4
.
Bruk utelukkende hardmetall-bor med SDS-plus-
skaft under hammerboring.
Bruk av vanlige steinbor
med sylindrisk skaft under anvendelse av adapter
13
og en vanlig chuck ved arbeid med det pneumatiske
hammerverket er ikke mulig.
TURTALLSTYRING
Med på-/av-bryter
6
kan du styre
turtallet trinnløst. Ved svakt trykk
på på-/av-bryter
6
begynner mas-
kinen å dreie seg langsomt; med
økende trykk økes turtallet.
OMKOPLING AV DREIERETNINGEN
Utløs høyre-/venstregangsbry-
ter
9
kun i stillstand!
Ta tak i høyre-/venstregangsbry-
ter
9
på begge sider.
Høyregang:
Sett høyre-/venstregangsbryter
9
R
“.
Venstregang:
Sett høyre-/venstregangsbryter
9
L
“.
Viktig!
Høyre-/venstregangsbryter
9
må tryk-
kes helt frem til anslaget på huset, dvs.
til den tydelig går i inngrep.
Hvis høyre-/venstregangsbryter
9
står mellom pos.
R
“ og „
L
“, kan maskinen ikke koples inn.
Verktøyfeste
1
spenner bore- og meiselverktøy fast
uten verktøynøkkel.
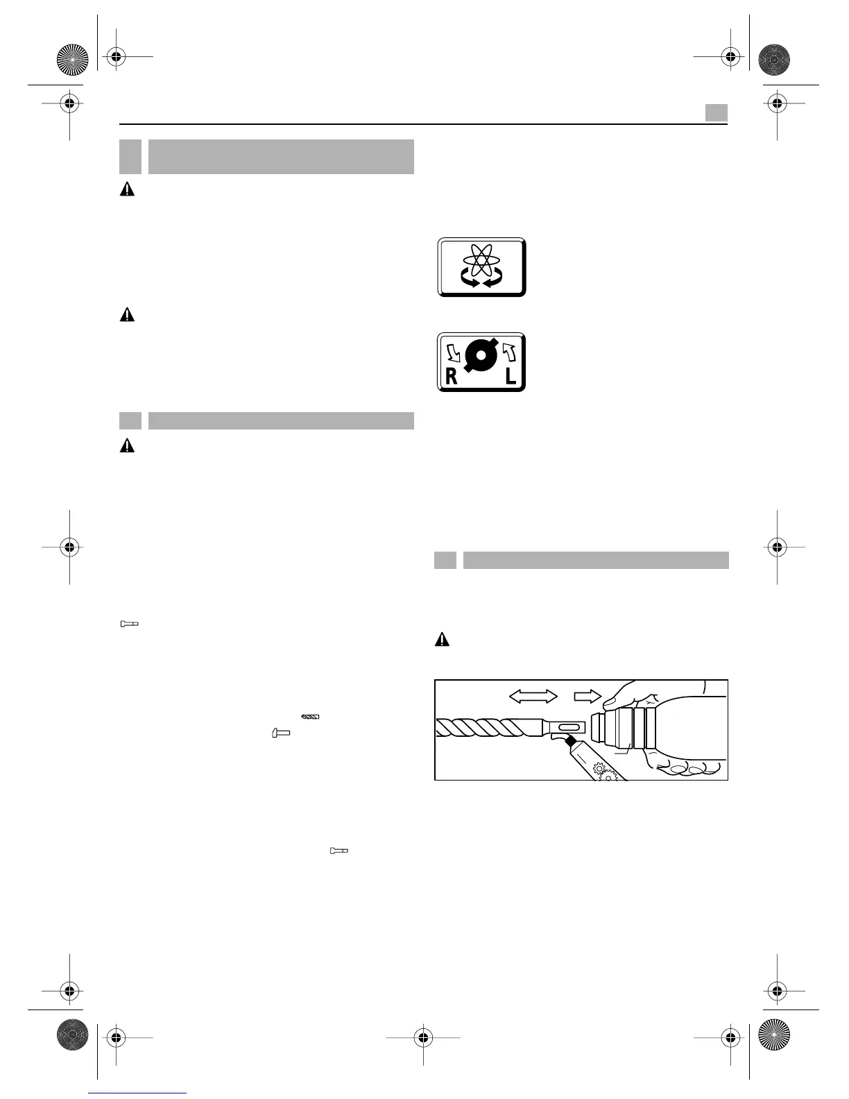
INNSETTING AV VERKTØY
Før alle arbeider på maskinen utføres må støpselet
trekkes ut.
Rengjør verktøyskaftet og smør det svakt.
Trekk tilbake låsehylse
3
. Før hertil verktøyet drei-
ende inn i verktøyfestet til det går i inngrep. Slipp låse-
hylsen. Kontrollèr om verktøyet sitter godt fast.
Pass på at støvkappe
2
ikke skades.
Skadet støvkappe må absolutt skiftes ut!
5
Montering av ekstrahåndtak og
nettkabelmodul
6 Igangsetting
7 Innsetting/avmontering av verktøy
Fett
3

Related product manuals