EasyManua.ls Logo

KRHÜNER 60023 - Page 11

KRHÜNER 60023
Print Icon
To Next Page IconTo Next Page
To Next Page IconTo Next Page
To Previous Page IconTo Previous Page
To Previous Page IconTo Previous Page
Loading...
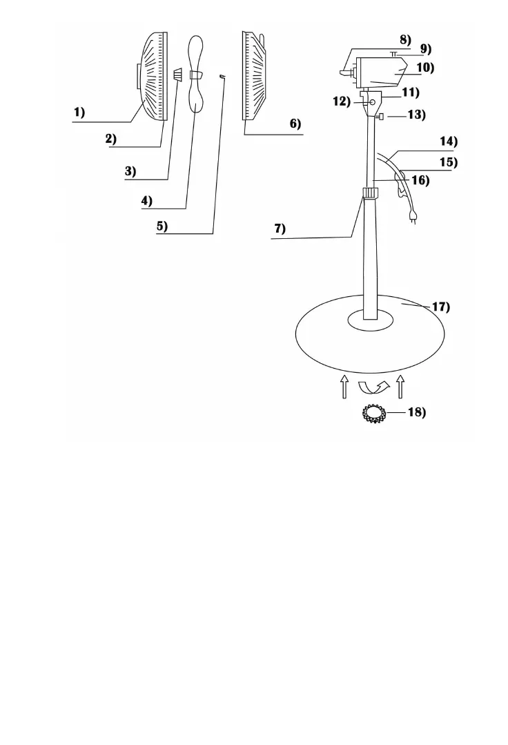
1. Grade dianteira 2. Aro de plásco 3. Tampa da lâmina
4. Lâmina do venlador 5. Parafuso 6. Grade traseira
7. Botão de ajuste de altura 8. Eixo do motor 9. Botão oscilante
10. Carcaça do motor 11. Caixa de ligar/desligar 12. Botão de velocidade
13. Parafuso de ajuste 14. Thumbscrew 15. Cabo de alimentação
da inclinação 16. Tubo de extensão 17. Ficar
18. Porca de plásco
COMO MONTAR
1. Desaperte a porca de plásco da coluna, coloque a coluna na base e aperte a porca
de plásco. Estenda completamente o tubo de extensão soltando o botão de ajuste de
altura.
2. Coloque a caixa de ligar / desligar no tubo e aperte o parafuso borboleta.
3. Desaperte a tampa da lâmina e a porca de plásco no eixo do motor.

Related product manuals