EasyManua.ls Logo

KRHÜNER 60023 - Instrucciones de Uso

KRHÜNER 60023
Print Icon
To Next Page IconTo Next Page
To Next Page IconTo Next Page
To Previous Page IconTo Previous Page
To Previous Page IconTo Previous Page
Loading...
2. INSTRUCCIONES DE USO
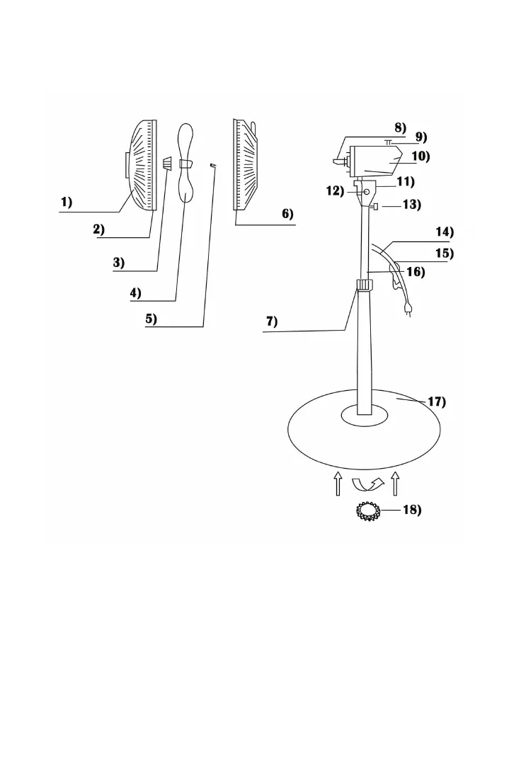
PARTES
1. Rejilla frontal 2. Borde de plásco 3. Tapón de aspa
4. Aspa del venlador 5. Tornillo 6. Rejilla trasera
7. Botón ajuste de altura 8. Eje del motor 9. Botón oscilación
10. Carcasa del motor 11. Encendido / apagado 12. Control de velocidad
13. Ajuste de inclinación 14. Tornillo mariposa 15. Cable de alimentación
16. Tubo de extensión 17. Pie de venlador 18. Tuerca de plásco

Related product manuals